授权公布号:CN220126630U
玩具喷漆模具夹装平台
有效
申请
2023-06-19
申请公布
1970-01-01
授权
2023-12-05
预估到期
2033-06-19
| 申请号 | CN202321580613.8 |
| 申请日 | 2023-06-19 |
| 授权公布号 | CN220126630U |
| 授权公告日 | 2023-12-05 |
| 分类号 | B05B13/02 |
| 分类 | 一般喷射或雾化;对表面涂覆液体或其他流体的一般方法〔2〕; |
| 申请人名称 | 星辉互动娱乐股份有限公司 |
| 申请人地址 | 广东省汕头市澄海区星辉工业园(上华镇夏岛路北侧) |
专利法律状态
2023-12-05
授权
状态信息
授权
摘要
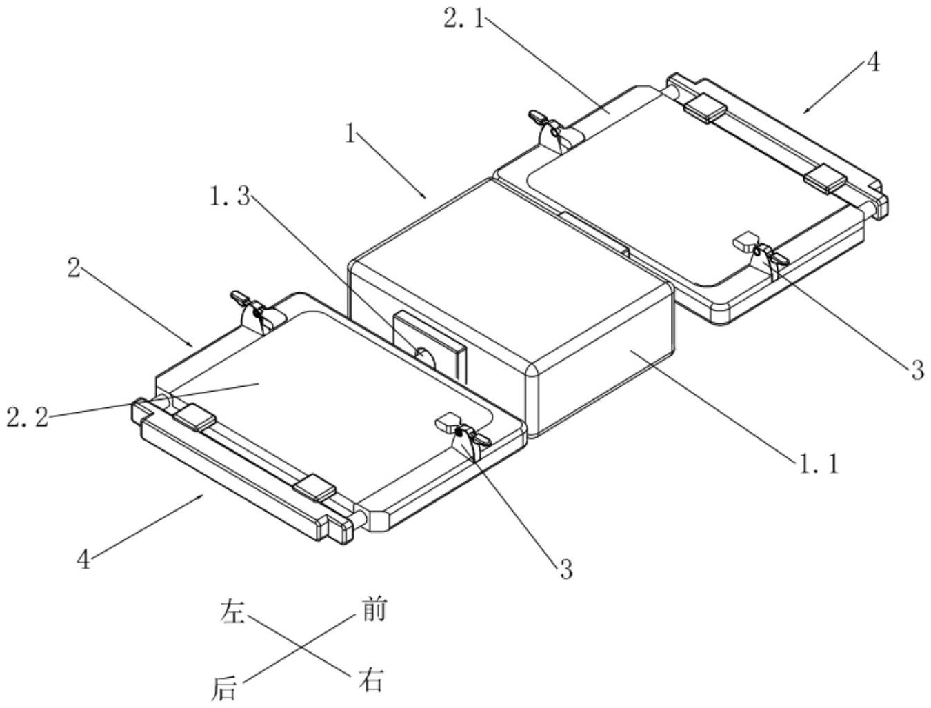
本实用新型公开了一种玩具喷漆模具夹装平台,包括喷漆模具和转动台,转动座的两侧安装直杆,直杆连接喷漆模具的底板,底板装配有气缸,气缸的伸出轴连接支架,支架固定地安装方块,气缸的伸缩动作带动支架及其方块产生夹紧和松开喷漆模具盖,实现了对模具盖的自动化锁紧和松开功能,模具盖在方块的锁紧下不会意外地翻开盖,防止了喷漆工件因处于敞开状态而被整体喷漆,杜绝了喷漆工件报废的情况发生,从而保障了喷漆合格率,同时,由于喷漆工件被锁紧的模具盖牢牢地固定,从而防止喷漆工件产生颤动和移位,使喷漆部位被准确地上色,提升了喷漆质量。


