授权公布号:CN217397626U
一种袋装液体饮料传送装置
有效
申请
2021-12-22
申请公布
1970-01-01
授权
2022-09-09
预估到期
2031-12-22
| 申请号 | CN202123243449.5 |
| 申请日 | 2021-12-22 |
| 授权公布号 | CN217397626U |
| 授权公告日 | 2022-09-09 |
| 分类号 | B65G37/00;B65G23/04;B65G41/00;B65G21/20;B65B55/02 |
| 分类 | 输送;包装;贮存;搬运薄的或细丝状材料; |
| 申请人名称 | 北京康比特体育科技股份有限公司 |
| 申请人地址 | 北京市昌平区科技园利祥路5号 |
专利法律状态
2022-09-09
授权
状态信息
授权
摘要
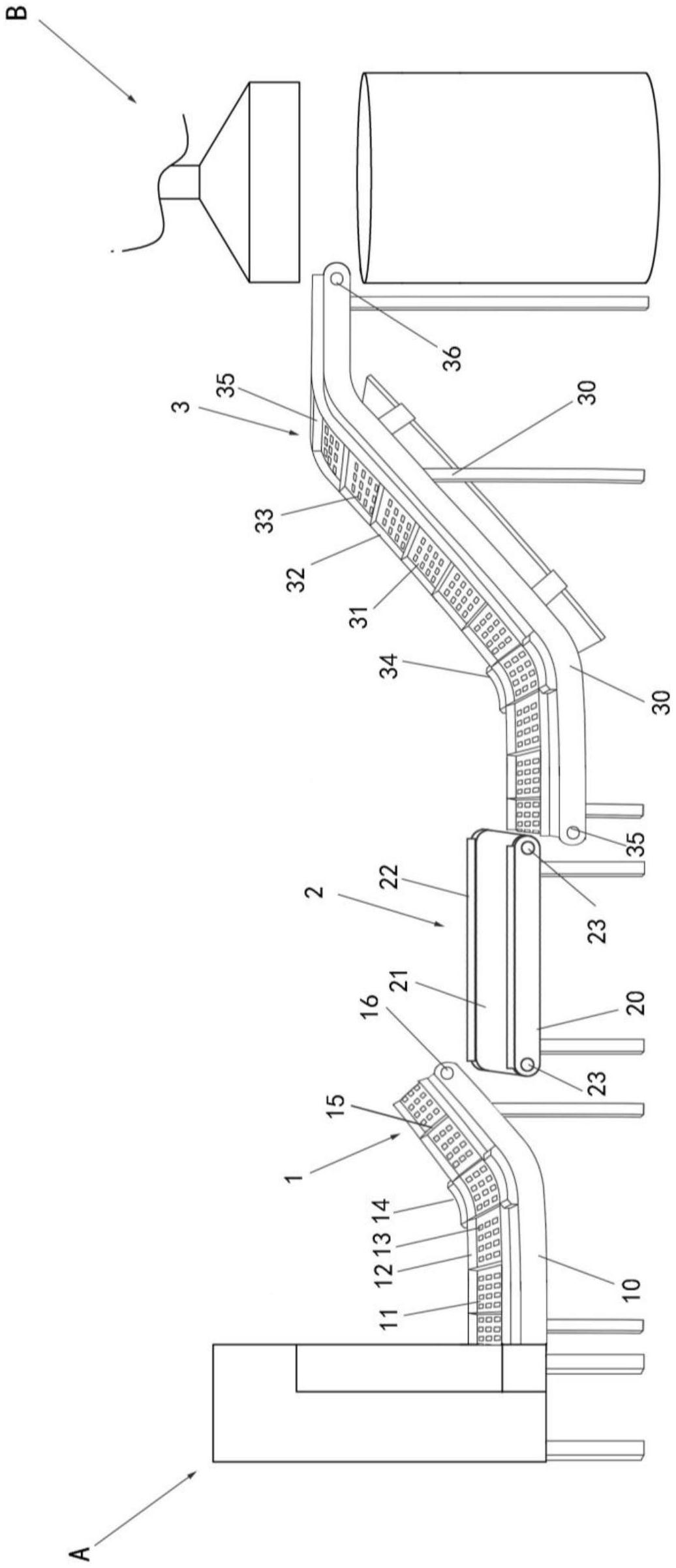
本实用新型提供了一种袋装液体饮料传送装置,包括:第一传送带组、第二传送带组和第三传送带组,通过设置三组传送带,可将袋装液体饮料生产装置底部的袋装液体饮料通过第一传送带组传送至第二传送带组,再传送到第三传送带组,并通过第三传送带组传送到外包车间的杀菌锅中。本实用新型的袋装液体饮料传送装置,可以方便灵活地实现袋装液体饮料的传送,在实现自动传送的同时可以进行人工检查,无需人工传送,降低工人的工作负担,且设置灵活,不受设置场地空间大小的限制。


