授权公布号:CN217397516U
一种带有排水功能的传送带装置
有效
申请
2021-12-30
申请公布
1970-01-01
授权
2022-09-09
预估到期
2031-12-30
| 申请号 | CN202123410324.7 |
| 申请日 | 2021-12-30 |
| 授权公布号 | CN217397516U |
| 授权公告日 | 2022-09-09 |
| 分类号 | B65G15/00;B65G41/00;B65G15/12;B65G15/30;B65G23/04;B65G21/20 |
| 分类 | 输送;包装;贮存;搬运薄的或细丝状材料; |
| 申请人名称 | 北京康比特体育科技股份有限公司 |
| 申请人地址 | 北京市昌平区科技园利祥路5号 |
专利法律状态
2022-09-09
授权
状态信息
授权
摘要
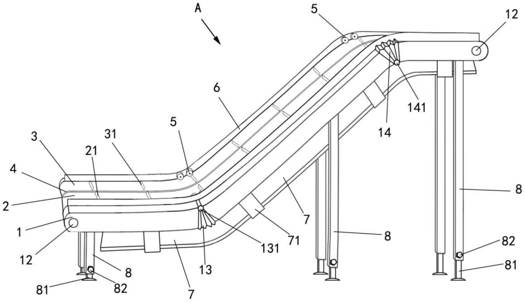
本实用新型提供了一种具有排水功能的传送带装置,包括:支架、两条传送带、传动锟、积液板、支脚。通过在所述传送带装置的支架表面铺设两条传送带,所述两条传送带的横截面成V形,在所述两条传送带的传送面中心线位置形成狭缝,当传送带表面淤积液体后,便会向中间狭缝流淌,再由狭缝滴落在所述支架下方的积液板上,并延所述积液板向下流动落入积液收集容器。从而在实现自动传送的同时保证传送带表面的卫生,避免了由于物料产品表面滴落的消毒杀菌液体对传送带装置产生腐蚀,有效的延长了传送带装置的使用寿命,提高了经济效益。


