授权公布号:CN218938313U
一种智能主板电气性能测试治具
有效
申请
2022-06-15
申请公布
1970-01-01
授权
2023-04-28
预估到期
2032-06-15
| 申请号 | CN202221481941.8 |
| 申请日 | 2022-06-15 |
| 授权公布号 | CN218938313U |
| 授权公告日 | 2023-04-28 |
| 分类号 | G01R1/04;G01R31/28 |
| 分类 | 测量;测试; |
| 申请人名称 | 深圳市帝晶光电科技有限公司 |
| 申请人地址 | 广东省深圳市宝安区福海街道稔田社区新塘路93-7号201、301 |
专利法律状态
2023-04-28
授权
状态信息
授权
摘要
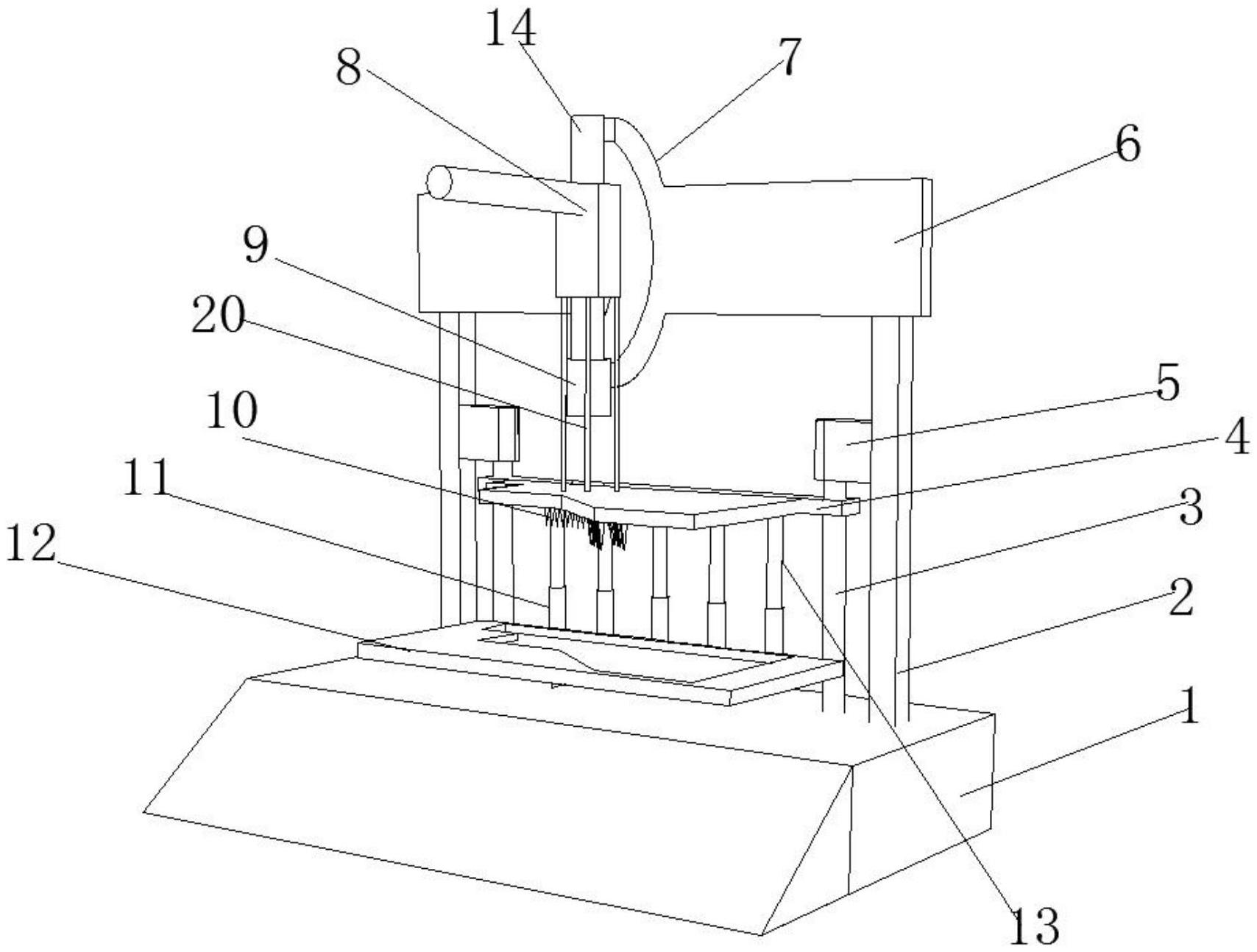
本实用新型涉及智能主板测试治具领域,且公开了一种智能主板电气性能测试治具,包括底座,底座左右两端上分别固定安装有支撑杆,两个支撑杆通过横板连接,两个支撑杆对应内侧壁上分别固定安装有第一固定块,两个第一固定块与底座之间通过第一导杆连接,两个第一导杆上活动套接有测试板,底座内部贯穿外边安装有伸缩装置,横板上固定安装有滑动装置,滑动装置下方设置有测试装置,测试装置对应的下方设置有主板底座,主板底座上开设有主板槽,通过设置了滑动装置,滑动装置的滑动把手通过在第二导杆上移动,滑动把手下端固定安装的固定板,就会随着滑动把手上下移动,固定板就会带着测试装置上下移动,用来带动伸缩装置移动。


