授权公布号:CN215931596U
颗粒产品缺陷检测的检测设备
有效
申请
2021-09-26
申请公布
1970-01-01
授权
2022-03-01
预估到期
2031-09-26
| 申请号 | CN202122334178.8 |
| 申请日 | 2021-09-26 |
| 授权公布号 | CN215931596U |
| 授权公告日 | 2022-03-01 |
| 分类号 | G01N15/00 |
| 分类 | 测量;测试; |
| 申请人名称 | 北京大恒图像视觉有限公司 |
| 申请人地址 | 北京市丰台区航丰路1号院2号楼16层1612(电梯层1912-A816) |
专利法律状态
2024-03-12
专利申请权、专利权的转移
状态信息
专利权的转移;IPC(主分类):G01N15/00;登记生效日:20240223;变更事项:专利权人;变更前:北京大恒图像视觉有限公司;变更后:北京恒忻智能科技有限公司;变更事项:国家或地区;变更前:中国;变更后:中国;变更事项:地址;变更前:100193 北京市海淀区东北旺西路8号中关村软件园9号楼国际软件大厦2区3层;变更后:100000 北京市丰台区航丰路1号院2号楼16层1612(电梯层1912-A816)
2022-03-01
授权
状态信息
授权
摘要
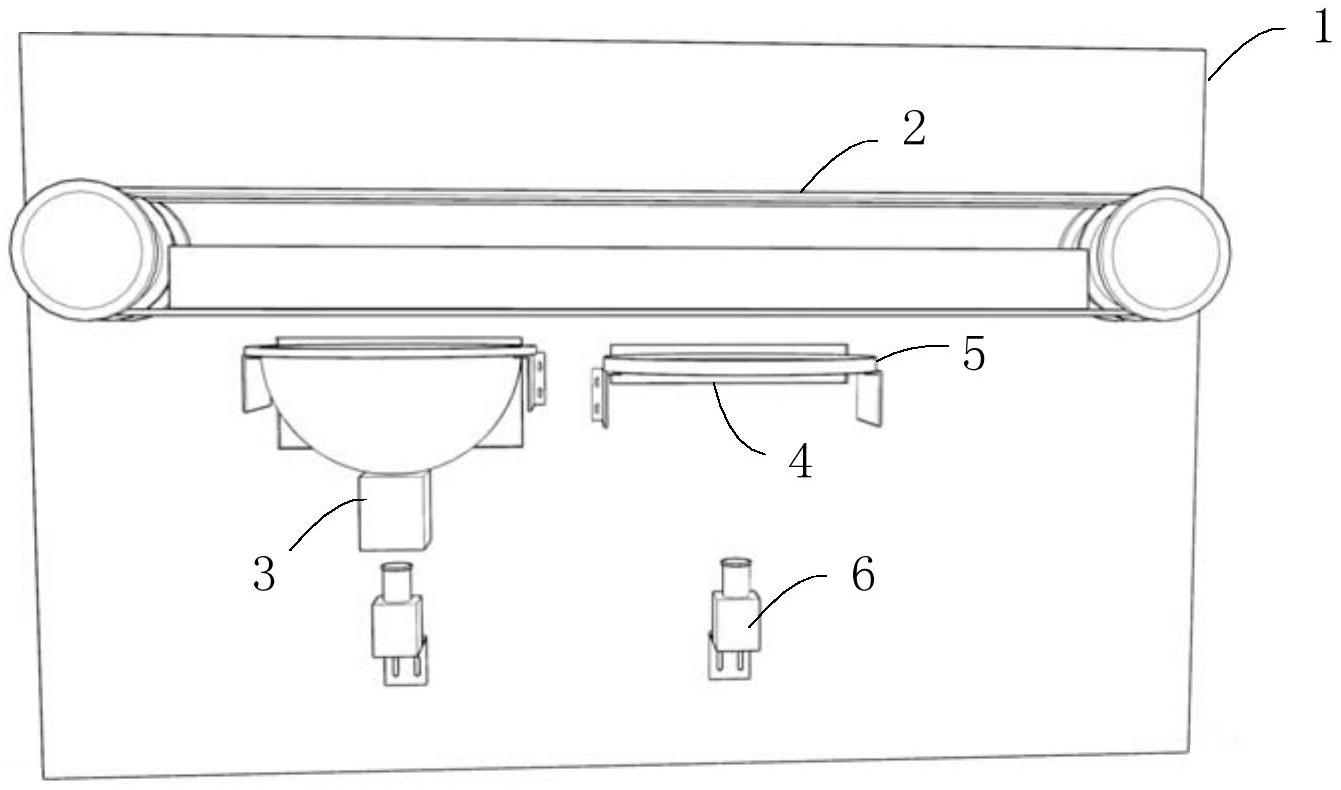
本申请公开了颗粒产品缺陷检测的检测设备,该检测设备的检测箱体中设置有安装背板,安装背板上设置有传送装置,传送装置的下方还设置有球积分光源检测装置,检测设备还包括:光源支撑架,辅助检测光源,检测相机;光源支撑架设置于球积分光源检测装置的右侧,光源支撑架的安装端固定安装在安装背板上;辅助检测光源安装于光源支撑架的支撑端,辅助检测光源位于传送装置的下方;检测相机安装于安装背板上,检测相机设置于辅助检测光源的下方。通过本申请中的技术方案,解决了因球积分光源打光均匀导致部分类型的片剂缺陷无法检测的问题,提高了药片检测的全面性和准确性。


