授权公布号:CN217404163U
一种基于机器视觉领域的容器口部多视角成像装置
有效
申请
2022-04-12
申请公布
1970-01-01
授权
2022-09-09
预估到期
2032-04-12
| 申请号 | CN202220839212.9 |
| 申请日 | 2022-04-12 |
| 授权公布号 | CN217404163U |
| 授权公告日 | 2022-09-09 |
| 分类号 | G01N21/88 |
| 分类 | 测量;测试; |
| 申请人名称 | 北京大恒图像视觉有限公司 |
| 申请人地址 | 北京市海淀区东北旺西路8号中关村软件园9号楼国际软件大厦2区3层 |
专利法律状态
2024-02-20
专利实施许可合同备案的生效、变更及注销
状态信息
专利实施许可合同备案的生效;IPC(主分类):G01N21/88;合同备案号:X2024980001681;让与人:北京大恒图像视觉有限公司;受让人:北京恒忻智能科技有限公司;实用新型名称:一种基于机器视觉领域的容器口部多视角成像装置;申请日:20220412;授权公告日:20220909;许可种类:排他许可;备案日期:20240130
2022-09-09
授权
状态信息
授权
摘要
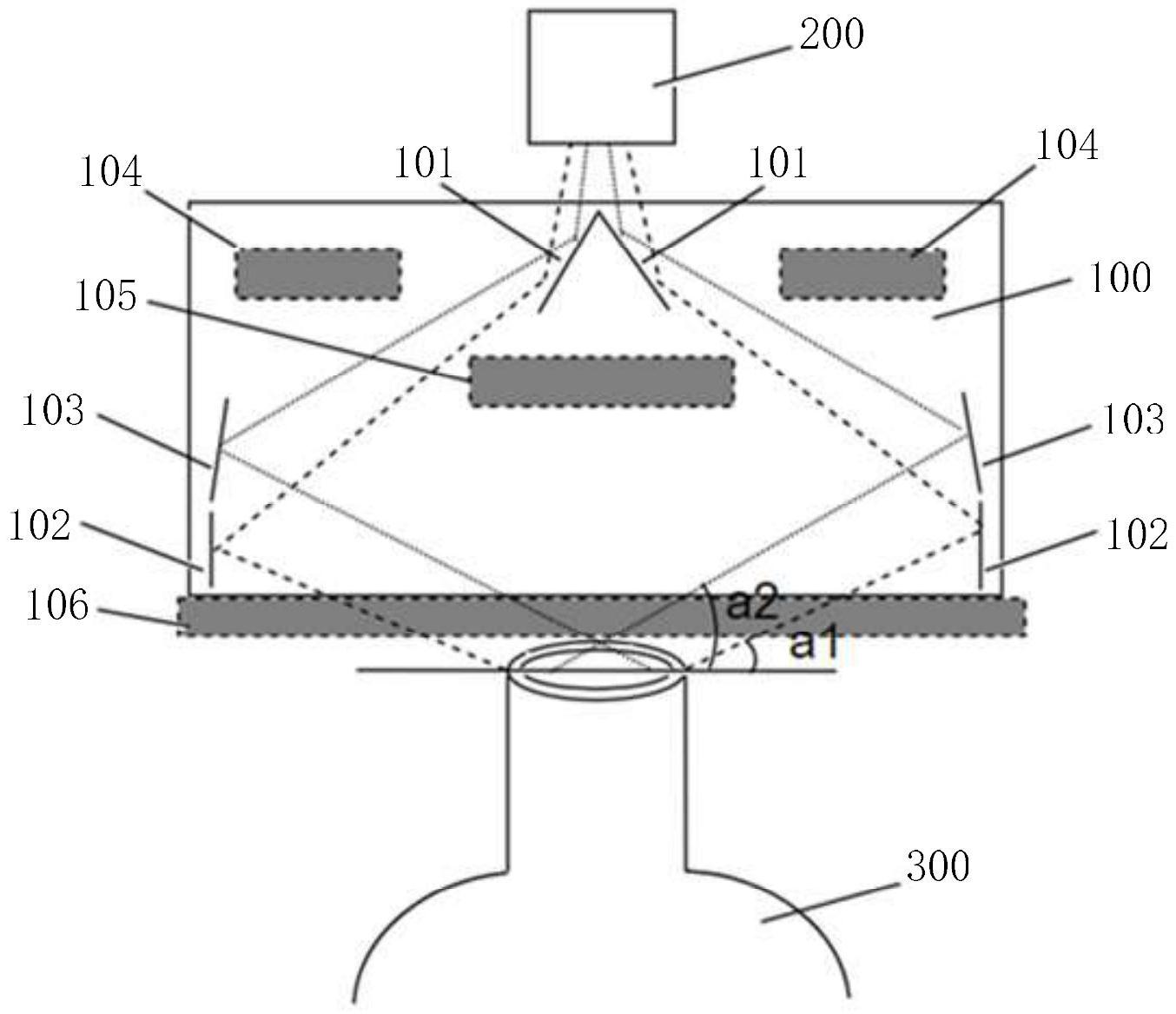
本申请公开了一种基于机器视觉领域的容器口部多视角成像装置,该装置包括检测模组和采集模块,该装置还包括:多个彼此间形成反射或折射光路的折反界面,以使下方容器口部的影像反射或折射至采集模块,第一折反界面设置于采集模块的下方,第一折反界面倾斜设置,第二折反界面设置于检测模组底部的上方,第二折反界面用于获取相对容器口部水平方向较小视线角度下的内外侧壁的图像,第三折反界面设置于第一折反界面与第二折反界面之间,第三折反界面用于获取相对容器口部水平方向较大视线角度下的内外侧壁的图像,且两内外侧壁的图像通过第一折反界面反射或折射至采集模块。通过本申请中的技术方案,降低了容器口部缺陷检测设备的成本和占用空间。


