授权公布号:CN215603014U
一种多功能自动点卤装置
有效
申请
2020-09-22
申请公布
1970-01-01
授权
2022-01-25
预估到期
2030-09-22
| 申请号 | CN202022087177.3 |
| 申请日 | 2020-09-22 |
| 授权公布号 | CN215603014U |
| 授权公告日 | 2022-01-25 |
| 分类号 | A23L11/45 |
| 分类 | 其他类不包含的食品或食料;及其处理; |
| 申请人名称 | 上海旺欣豆制品设备有限公司 |
| 申请人地址 | 上海市浦东新区书院三三公路4633号 |
专利法律状态
2022-01-25
授权
状态信息
授权
摘要
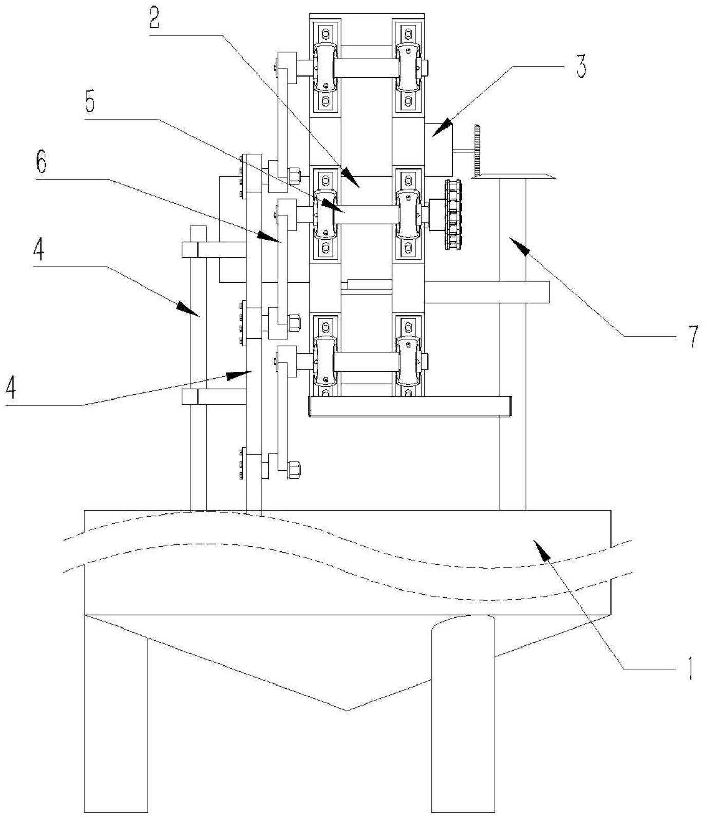
本实用新型提出一种多功能自动点卤装置,包括卤缸、第一电机、第二电机、机架、搅拌单元和破脑单元;机架设于卤缸的缸口位置,第一电机、第二电机、搅拌单元和破脑单元均固定于机架上;电机与搅拌单元和破脑单元传动连接;破脑单元包括连轴齿轮组和破脑杆,破脑杆通过连轴齿轮组与电机传动连接;搅拌单元包括一根搅拌轴,搅拌轴的通过齿轮与第二电机传动连接,以提出一种自动实现搅拌以及破脑,节省人力物力的点卤装置。


