授权公布号:CN217524806U
搅拌杯安装结构以及搅拌机
有效
申请
2022-03-11
申请公布
1970-01-01
授权
2022-10-04
预估到期
2032-03-11
| 申请号 | CN202220542162.8 |
| 申请日 | 2022-03-11 |
| 授权公布号 | CN217524806U |
| 授权公告日 | 2022-10-04 |
| 分类号 | A47J43/046;A47J43/07 |
| 分类 | 家具;家庭用的物品或设备;咖啡磨;香料磨;一般吸尘器; |
| 申请人名称 | 广东科嘉霖电器制造有限公司 |
| 申请人地址 | 广东省佛山市顺德区容桂容边天河工业区六横路 |
专利法律状态
2022-10-04
授权
状态信息
授权
摘要
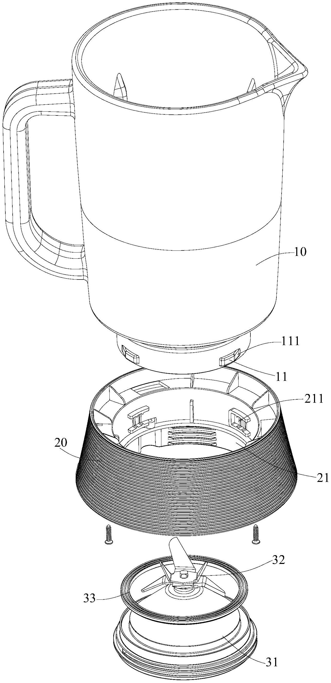
本实用新型公开了搅拌杯安装结构以及搅拌机,搅拌杯安装结构包括,杯座,所述杯座内设有装配腔,所述装配腔内壁设有引导槽;杯体,所述杯体以可拆卸的方式安装于所述装配腔内;所述杯体的底端外壁设有引导部,所述引导部用于在所述杯体装配至所述装配腔内时,与所述引导槽滑动配合并嵌装于所述引导槽内。搅拌机,包括搅拌刀组件以及所述的搅拌杯安装结构,所述搅拌刀组件安装于所述装配腔并伸入所述杯体内。本实用新型的杯体与杯座通过引导部与引导槽的滑动配合实现杯体与杯座的装配。


