授权公布号:CN218608575U
一种具有多功能的空气净化装置
有效
申请
2022-06-27
申请公布
1970-01-01
授权
2023-03-14
预估到期
2032-06-27
| 申请号 | CN202221620181.4 |
| 申请日 | 2022-06-27 |
| 授权公布号 | CN218608575U |
| 授权公告日 | 2023-03-14 |
| 分类号 | B01D46/30 |
| 分类 | 一般的物理或化学的方法或装置; |
| 申请人名称 | 浙江冰虫环保科技有限公司 |
| 申请人地址 | 浙江省杭州市滨江区长河街道塘子堰路159号D座5层502室 |
专利法律状态
2023-03-14
授权
状态信息
授权
摘要
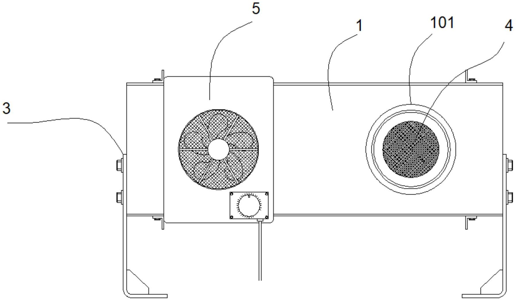
本实用新型公开了一种具有多功能的空气净化装置,包括箱体,所述箱体的左右两端贯通,在箱体的左右两端处可拆卸的安装有侧盖板,通过所述侧盖板连接有支架,通过支架将箱体悬置于地面上方;在所述箱体的表面纵向贯穿设置有通孔,所述通孔设置有两个以上,通孔的前端加工形成阶梯面,在所述通孔内可拆卸的安装有过滤单元,所述过滤单元通过所述阶梯面限位;在所述箱体的外部配合有空气动力装置,所述空气动力装置沿着所述箱体滑移后配合所述过滤单元;本装置可以快速适配新的过滤单元,且便于直观的看到过滤单元使用状态。


