授权公布号:CN217717137U
一种可实时监测甲醛浓度的测试装置
有效
申请
2022-07-05
申请公布
1970-01-01
授权
2022-11-01
预估到期
2032-07-05
| 申请号 | CN202221728497.5 |
| 申请日 | 2022-07-05 |
| 授权公布号 | CN217717137U |
| 授权公告日 | 2022-11-01 |
| 分类号 | G01N1/24;G01N27/26 |
| 分类 | 测量;测试; |
| 申请人名称 | 浙江冰虫环保科技有限公司 |
| 申请人地址 | 浙江省杭州市滨江区长河街道塘子堰路159号D座5层502室 |
专利法律状态
2022-11-01
授权
状态信息
授权
摘要
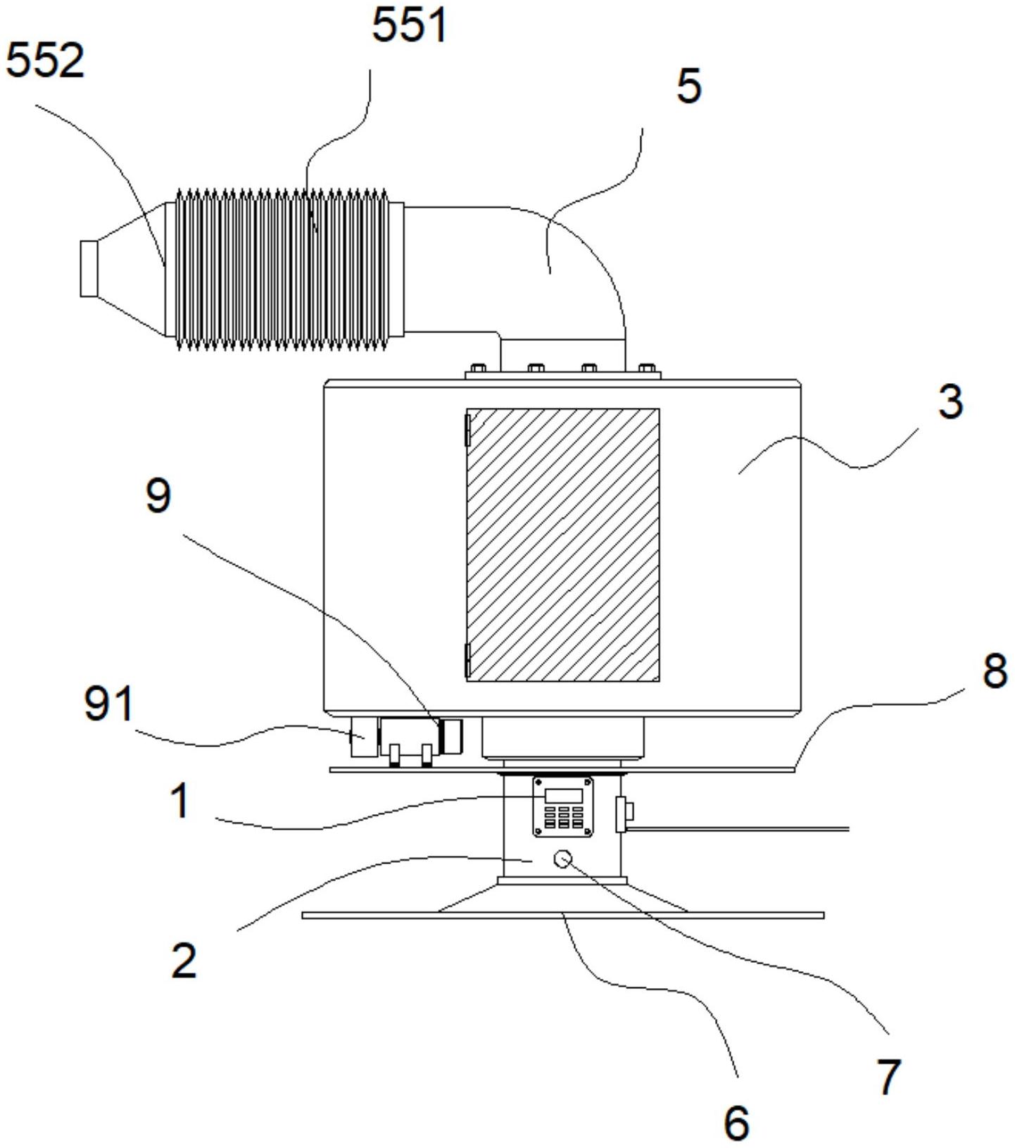
本实用新型公开了一种可实时监测甲醛浓度的测试装置,包括甲醛仪,还包括竖管,所述甲醛仪安装于该竖管的表面,其测量位置位于竖管的内部,在所述竖管的上端设置有一回转仓,所述回转仓和所述竖管之间配合有轴承和轴封,所述轴封密封于所述轴承的上部,所述竖管的上端安装有风扇,所述回转仓的上端设置有进气口,在进气口处安装有进气管,在所述竖管的下端设置有底座,所述竖管的外壁,位于所述甲醛仪的下部设置有排气孔;所述竖管的外部设置有支架板,在所述支架板的板面上安装有电机,所述电机的输出端安装有摩擦轮,所述摩擦轮接触所述回转仓;本装置可以进行多个方向提取空气,提高监测数据准确性。


