授权公布号:CN217661225U
一种可调节的消防水枪
有效
申请
2021-12-30
申请公布
1970-01-01
授权
2022-10-28
预估到期
2031-12-30
| 申请号 | CN202123448823.5 |
| 申请日 | 2021-12-30 |
| 授权公布号 | CN217661225U |
| 授权公告日 | 2022-10-28 |
| 分类号 | A62C31/03;A62C33/00 |
| 分类 | 救生;消防; |
| 申请人名称 | 苏州海星海事装备股份有限公司 |
| 申请人地址 | 江苏省苏州市吴江区汾湖高新技术产业开发区越秀路588号 |
专利法律状态
2022-10-28
授权
状态信息
授权
摘要
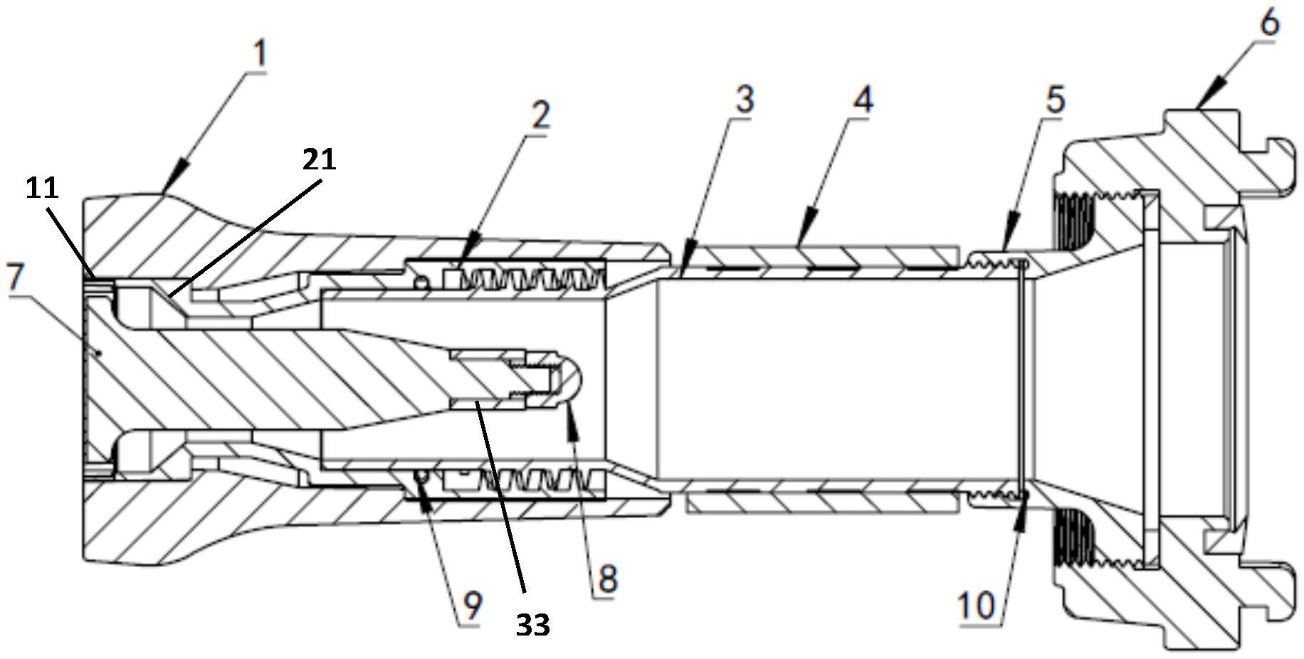
本实用新型公开了一种可调节的消防水枪,包括水枪主体、调节圈和导流芯,水枪主体具有第一端和第二端,调节圈与水枪主体的第一端活动连接,导流芯的一端设置在水枪主体的第一端中并与水枪主体可拆卸连接;导流芯位于调节圈中并与调节圈内壁形成有间隙,间隙为水枪主体中水流的流出通道;调节圈相对水枪主体以及导流芯转动时,调节圈与导流芯的之间的间隙改变进而调节水流流量。本实用新型在水枪本体头部设置可调节的调节环和固定的导流芯,通过旋转调节环调节与导流芯的相对距离实现流量及射程调节,结构简单,操作方便;在调节环外设置保护套,保护调节环的同时,在保护套内侧设置开花槽,在水流经过开花槽时产生水雾实现对射流形式的调节。


