授权公布号:CN211246344U
一种连续式超声波管道乳化器
有效
申请
2019-11-21
申请公布
1970-01-01
授权
2020-08-14
预估到期
2029-11-21
| 申请号 | CN201922019497.2 |
| 申请日 | 2019-11-21 |
| 授权公布号 | CN211246344U |
| 授权公告日 | 2020-08-14 |
| 分类号 | B01F11/02 |
| 分类 | 一般的物理或化学的方法或装置; |
| 申请人名称 | 温州国仕邦高分子材料有限公司 |
| 申请人地址 | 浙江省温州市永嘉县沙头镇工业区 |
专利法律状态
2022-01-07
专利权质押合同登记的生效、变更及注销
状态信息
专利权质押合同登记的生效;IPC(主分类):B01F11/02;登记号:Y2021110000102;登记生效日:20211222;出质人:温州国仕邦高分子材料有限公司;质权人:温州市融资担保有限公司;实用新型名称:一种连续式超声波管道乳化器;申请日:20191121;授权公告日:20200814
2020-08-14
授权
状态信息
授权
摘要
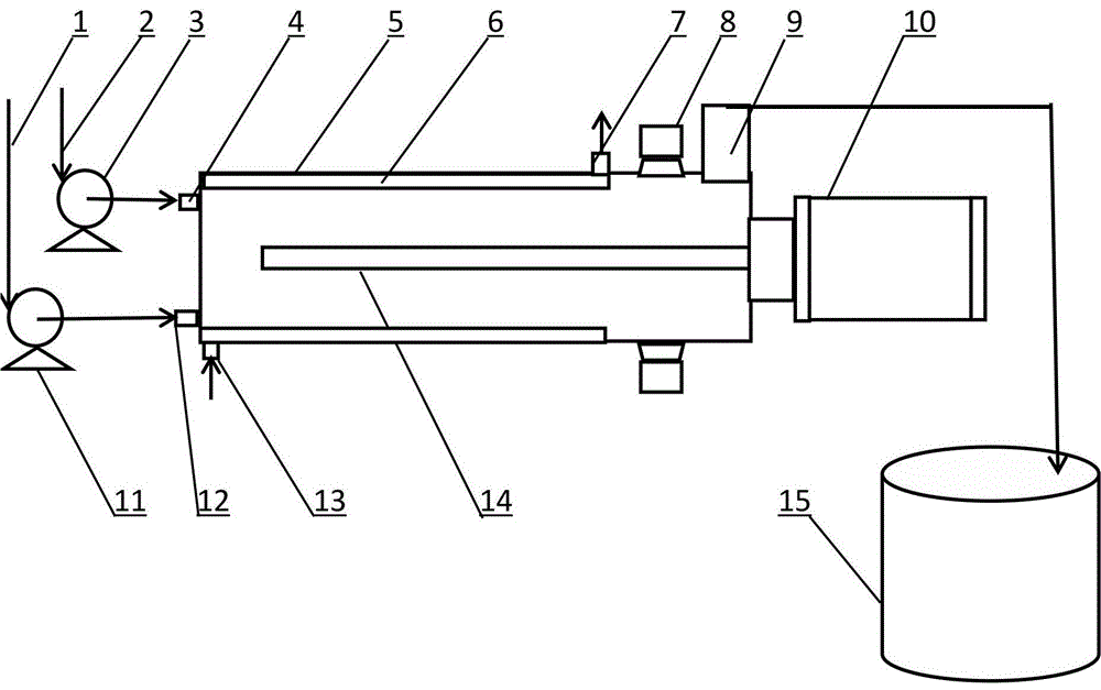
本实用新型涉及一种连续式超声波管道乳化器,包括乳化器,在乳化器设有冷却夹套;其特征是:所述乳化器采用管道式乳化器,该管道式乳化器的两端封闭,其一端设有树脂溶液输入口和去离子水输入口,另一端设有乳液溢流口、聚能超声波发生器和发散超声波发生器;树脂溶液输入口与树脂溶液输送平流泵的出口连通,树脂溶液输送平流泵的进口与树脂溶液输送管道连通,去离子水输入口与去离子水输送平流泵出口连通,去离子水输送平流泵进口与去离子水输送管道连通。利用超声波提供能量,通过超声波的机械效应和空化效应完成液体树脂在水中的乳化过程。具有产生效率高、固定资产投资少、设备安装空间和运行费用小、能源消耗低等特点。


