授权公布号:CN213724889U
一种连续式丙酮蒸发器
有效
申请
2020-10-09
申请公布
1970-01-01
授权
2021-07-20
预估到期
2030-10-09
| 申请号 | CN202022230653.2 |
| 申请日 | 2020-10-09 |
| 授权公布号 | CN213724889U |
| 授权公告日 | 2021-07-20 |
| 分类号 | B01D1/26 |
| 分类 | 一般的物理或化学的方法或装置; |
| 申请人名称 | 温州国仕邦高分子材料有限公司 |
| 申请人地址 | 浙江省温州市永嘉县沙头镇工业区 |
专利法律状态
2021-07-20
授权
状态信息
授权
摘要
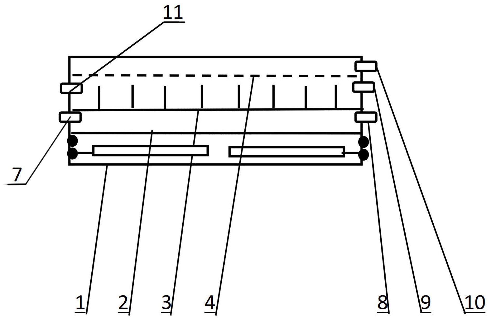
本实用新型涉及一种连续式丙酮蒸发器,其特征在于:包括一个四层结构模块式蒸发器,第一层为含微波发生器组件的微波辐射层,第二层为高沸点极性溶剂的油浴层,第三层为平流层,第四层为多孔真空蒸发层;微波发生器连接模块式蒸发器外壳上微波发生器电源接口,油浴层两端分别连接高沸点极性溶剂输入口和高沸点极性溶剂输出口,平流层两端分别连接连接乳液输入口和乳液溢流口,多孔真空蒸发层内腔与真空泵和冷凝器接口连接。采用微波辐射提供丙酮脱除过程的热能,通过高效的层流设置模块化结构设计,形成连续溶剂蒸发过程,并通过模块并联形成批量处理能力;具有产品质量和储存稳定性好、设备安装空间小、产品制造成本低等优点。


