授权公布号:CN205903867U
一种液体物料真空抽送装置
有效
申请
2016-08-04
申请公布
1970-01-01
授权
2017-01-25
预估到期
2026-08-04
| 申请号 | CN201620874822.7 |
| 申请日 | 2016-08-04 |
| 授权公布号 | CN205903867U |
| 授权公告日 | 2017-01-25 |
| 分类号 | B01J3/02;B01J3/03 |
| 分类 | 一般的物理或化学的方法或装置; |
| 申请人名称 | 温州国仕邦高分子材料有限公司 |
| 申请人地址 | 浙江省温州市永嘉县沙头工业园区 |
专利法律状态
2017-01-25
授权
状态信息
授权
摘要
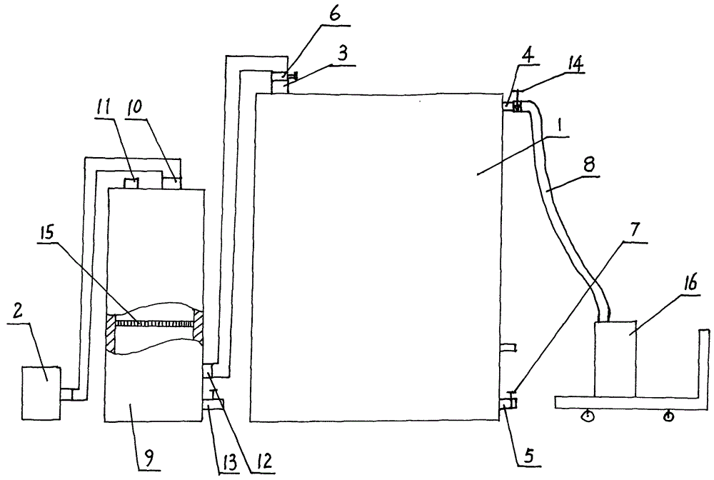
本实用新型涉及一种液体物料真空抽送装置,包括反应釜和真空泵,反应釜上端设有真空口和进料口,下端设有出料口,真空泵进口与真空口连通,进料口与吸管的一端密封连接,吸管另一端插入到液体物料筒底部;主要是在真空泵进口与真空口之间设置真空罐,真空罐上端设有抽出口和冲洗进水口,下端设有抽入口和冲洗出水口,抽出口与真空泵进口连接,抽入口与真空口连通。反应釜内被负压吸出的少量液体进入真空罐后留在底部,不易进入真空泵内,防止介质进入泵腔堵塞和腐蚀,抽送效率高、设备使用寿命长。适用于聚氨酯生产工艺中液态物料的抽送装置。


