授权公布号:CN211246486U
分子筛填充连续式吸附/再生管道反应器
有效
申请
2019-11-21
申请公布
1970-01-01
授权
2020-08-14
预估到期
2029-11-21
| 申请号 | CN201922019556.6 |
| 申请日 | 2019-11-21 |
| 授权公布号 | CN211246486U |
| 授权公告日 | 2020-08-14 |
| 分类号 | B01J8/06;B01D15/22 |
| 分类 | 一般的物理或化学的方法或装置; |
| 申请人名称 | 温州国仕邦高分子材料有限公司 |
| 申请人地址 | 浙江省温州市永嘉县沙头镇工业区 |
专利法律状态
2022-01-07
专利权质押合同登记的生效、变更及注销
状态信息
专利权质押合同登记的生效;IPC(主分类):B01J8/06;登记号:Y2021110000102;登记生效日:20211222;出质人:温州国仕邦高分子材料有限公司;质权人:温州市融资担保有限公司;实用新型名称:分子筛填充连续式吸附/再生管道反应器;申请日:20191121;授权公告日:20200814
2020-08-14
授权
状态信息
授权
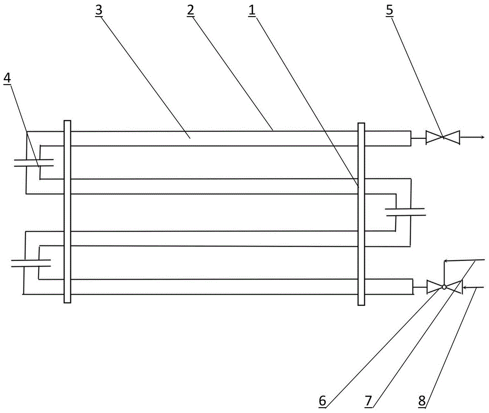
摘要
本实用新型涉及一种分子筛填充连续式吸附/再生管道反应器,包括安装座、反应器;其特征是所述反应器由管道反应器组成,管道反应器内腔填充分子筛,若干个管道反应器串联组成一个管道反应器组,若干个管道反应器组并联组成反应器;一个管道反应器组中的管道反应器上下水平排列,下端管道反应器的一个端口为反应器进口,上端管道反应器的一个端口为反应器出口。具有设备投资和运行成本低、操作安全性好等优点。


