授权公布号:CN208249009U
一种移动式胶粘剂易置罐
有效
申请
2018-05-17
申请公布
1970-01-01
授权
2018-12-18
预估到期
2028-05-17
| 申请号 | CN201820731591.3 |
| 申请日 | 2018-05-17 |
| 授权公布号 | CN208249009U |
| 授权公告日 | 2018-12-18 |
| 分类号 | B65D90/20 |
| 分类 | 输送;包装;贮存;搬运薄的或细丝状材料; |
| 申请人名称 | 温州国仕邦高分子材料有限公司 |
| 申请人地址 | 浙江省温州市永嘉县沙头工业区 |
专利法律状态
2018-12-18
授权
状态信息
授权
摘要
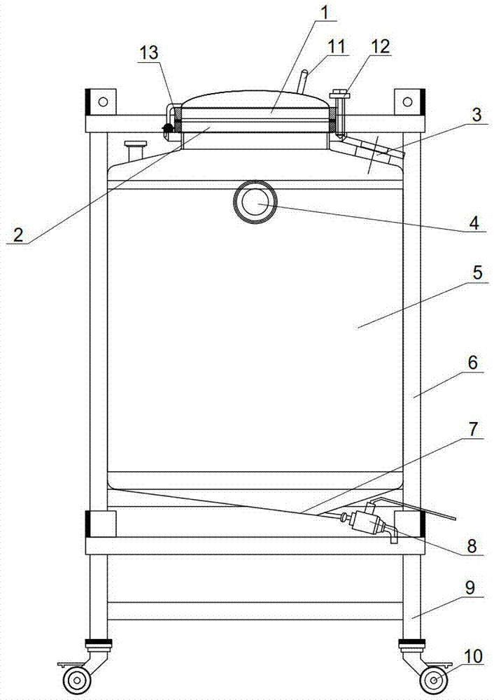
本实用新型涉及一种移动式胶粘剂易置罐,包括罐体和罐盖,罐盖顶部设有把手,罐盖一侧交接安装在罐体上端灌口的一侧,罐盖与罐口之间设有密封件,罐盖另一侧通过螺栓与罐口另一侧的螺孔相互锁紧配合;主要是罐体底部采用偏心锥底,在偏心锥底的底部安装出料阀;罐体安装于移动座架上,移动座架的安装面具有与罐体底部相互配合的偏心锥底,移动座架上部设有罐体防护框。具有密封性好,强度高,使用方便、安全、环保等特点。


