授权公布号:CN217709956U
一种细特高密竹棉大提花家纺织物用的辊压装置
有效
申请
2022-06-09
申请公布
1970-01-01
授权
2022-11-01
预估到期
2032-06-09
| 申请号 | CN202221423726.2 |
| 申请日 | 2022-06-09 |
| 授权公布号 | CN217709956U |
| 授权公告日 | 2022-11-01 |
| 分类号 | D06C15/02 |
| 分类 | 织物等的处理;洗涤;其他类不包括的柔性材料; |
| 申请人名称 | 凯盛家纺股份有限公司 |
| 申请人地址 | 江苏省南通市海门区三星镇园区北路888号 |
专利法律状态
2022-11-01
授权
状态信息
授权
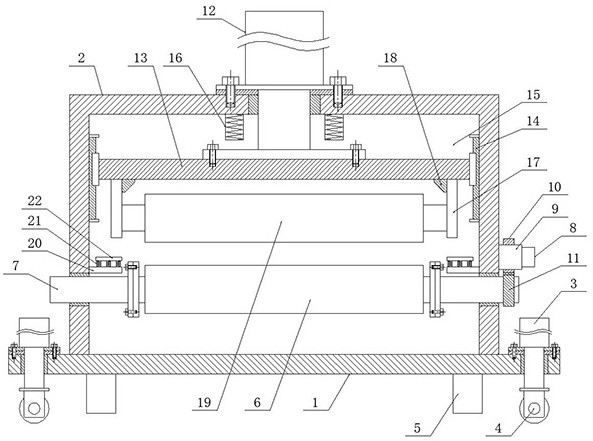
摘要
本实用新型公开了一种细特高密竹棉大提花家纺织物用的辊压装置,包括底板、门形架、压辊和支撑辊;在底板上表面中间位置竖直设有门形架,且二者整体成型;在门形架内部偏下位置水平横向同轴心间隔设有转轴,每一所述转轴靠外侧一端分别垂直延伸出门形架,并分别与门形架转动连接;在其中一个转轴延伸出门形架部分的正上方设有驱动机构,且在两个转轴之间水平横向同轴心螺接设有支撑辊,在驱动机构带动下,支撑辊随着转轴沿其轴向进行转动;在门形架的内部相对于支撑辊正上方水平横向设有压辊,压辊通过升降机构做竖直上下运动,并与支撑辊配合对家纺织物进行辊压作业。本实用新型实现了压辊与支撑辊之间距离的自动化可调节,提高了辊压效率。


