授权公布号:CN219026037U
辅助件、孔锯套件、工具系统和工具机系统
有效
申请
2023-03-13
申请公布
1970-01-01
授权
2023-05-16
预估到期
2033-03-13
| 申请号 | CN202320533329.9 |
| 申请日 | 2023-03-13 |
| 授权公布号 | CN219026037U |
| 授权公告日 | 2023-05-16 |
| 分类号 | B23B51/04 |
| 分类 | 机床;不包含在其他类目中的金属加工; |
| 申请人名称 | 博世电动工具(中国)有限公司 |
| 申请人地址 | 浙江省杭州市滨江区滨康路567号 |
专利法律状态
2023-05-16
授权
状态信息
授权
摘要
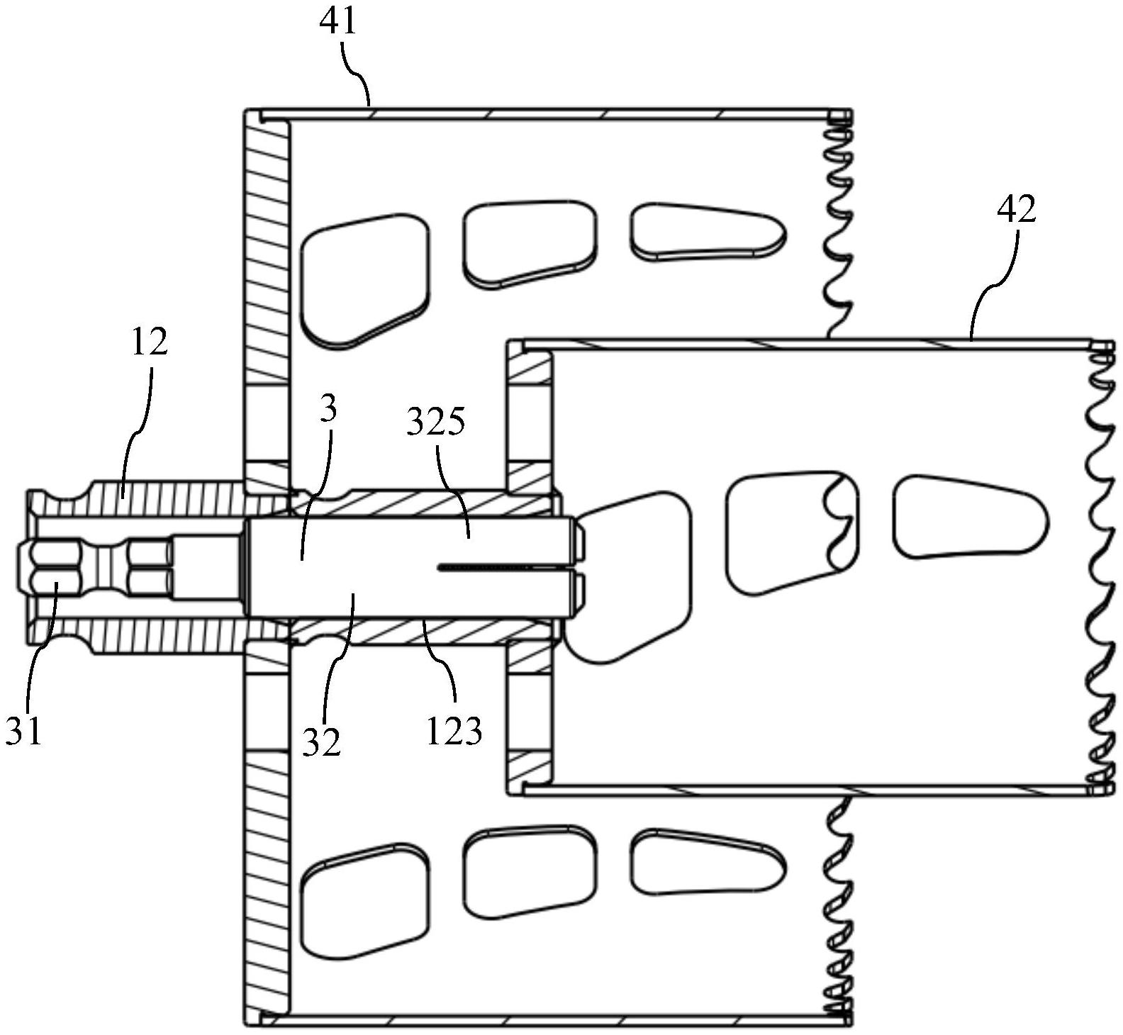
本申请涉及一种辅助件,所述辅助件用于将孔锯安装到驱动装置,所述孔锯包括适于供用于所述孔锯的定心钻穿过的轴向通孔,所述辅助件包括:安装部分,所述安装部分适于安装到所述驱动装置的定心钻接收部;固定部分,所述固定部分具有能膨胀的膨胀结构,所述膨胀结构适于通过膨胀而卡紧到所述孔锯的所述轴向通孔内。本申请还涉及相应的孔锯套件、工具系统和工具机系统。本申请的优点在于:能通过辅助件实现新型孔锯的扩孔功能并且辅助件的结构简单且使用方便。


