授权公布号:CN218183090U
无刷电机
有效
申请
2022-08-31
申请公布
1970-01-01
授权
2022-12-30
预估到期
2032-08-31
| 申请号 | CN202222328716.7 |
| 申请日 | 2022-08-31 |
| 授权公布号 | CN218183090U |
| 授权公告日 | 2022-12-30 |
| 分类号 | H02K1/18;H02K3/34;H02K1/14;H02K29/00 |
| 分类 | 发电、变电或配电; |
| 申请人名称 | 博世电动工具(中国)有限公司 |
| 申请人地址 | 浙江省杭州市滨江区滨康路567号 |
专利法律状态
2022-12-30
授权
状态信息
授权
摘要
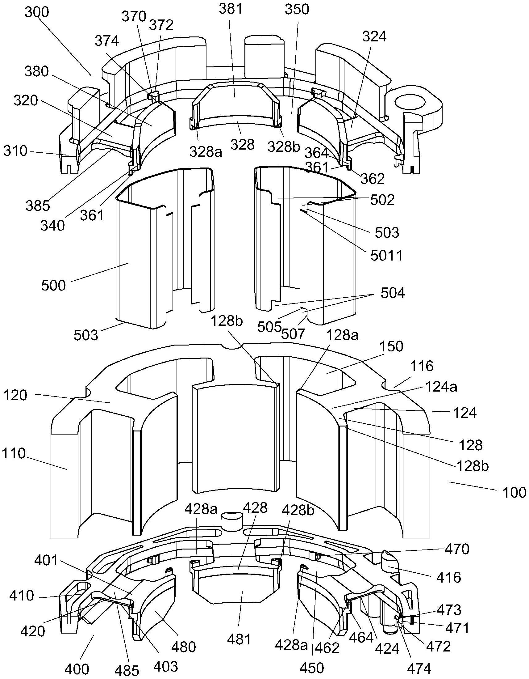
本实用新型涉及一种无刷电机,包括:包括外筒体(110)和多个定子齿(120)的定子铁芯(100),周向相邻的两个定子齿与外筒体一起限定定子槽(150);包括第一环体(310)和多个第一支架齿(320)的第一支架(300),周向相邻的两个第一支架齿与第一环体一起限定第一槽(350);包括第二环体(410)和多个第二支架齿(420)的第二支架(400),周向相邻的两个第二支架齿与第二环体一起限定第二槽(450);和安装于由定子槽(150)、第一槽(350)和第二槽(450)限定的导线槽(50)中的绝缘纸(500),第一支架(300)和第二支架分别包括防止绝缘纸轴向移位的第一突出部(360)和第二突出部(460)。


