授权公布号:CN216981634U
永磁电机新型转子结构
有效
申请
2022-01-11
申请公布
1970-01-01
授权
2022-07-15
预估到期
2032-01-11
| 申请号 | CN202220064461.5 |
| 申请日 | 2022-01-11 |
| 授权公布号 | CN216981634U |
| 授权公告日 | 2022-07-15 |
| 分类号 | H02K1/274;H02K1/28 |
| 分类 | 发电、变电或配电; |
| 申请人名称 | 宁夏西北骏马电机制造股份有限公司 |
| 申请人地址 | 宁夏回族自治区石嘴山市大武口区长胜路110国道以西 |
专利法律状态
2022-07-15
授权
状态信息
授权
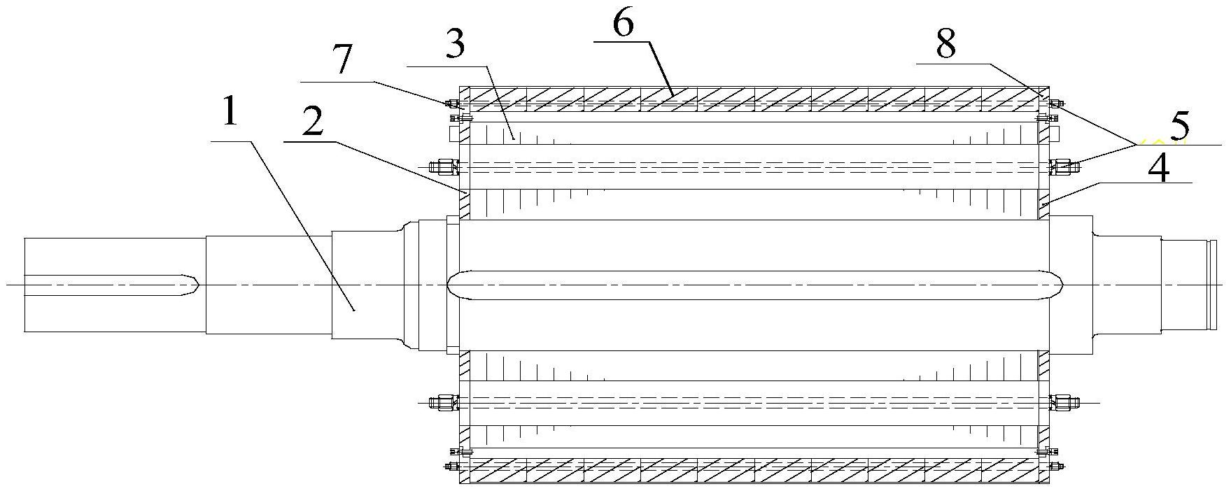
摘要
一种永磁电机新型转子结构,涉及永磁电机转子技术领域,包括电机轴、前转子压圈、转子冲片、后转子压圈、若干固定螺栓和永磁体,转子冲片配装在电机轴上,永磁体与转子冲片配装,前转子压圈通过固定螺栓与转子冲片和永磁体的前端固定配装,后转子压圈通过固定螺栓与转子冲片和永磁体的后端固定配装。本实用新型的转子冲片利用前转子压圈和后转子压圈被叠压,在靠近电机轴处将前转子压圈和后转子压圈与电机轴用电焊的方式将前转子压圈和后转子压圈与电机轴固定,转子冲片与前转子压圈和后转子压圈在靠近外圆处打第二安装螺孔,第二安装螺孔穿过双头螺栓进行紧固,如此,本实用新型的结构可以保证外径较大的转子叠压成符合使用要求的转子。


