授权公布号:CN111513457B
一种办公桌及其组装方法
有效
申请
2020-04-17
申请公布
2020-08-11
授权
2024-03-01
预估到期
2040-04-17
| 申请号 | CN202010306423.1 |
| 申请日 | 2020-04-17 |
| 申请公布号 | CN111513457A |
| 申请公布日 | 2020-08-11 |
| 授权公布号 | CN111513457B |
| 授权公告日 | 2024-03-01 |
| 分类号 | A47B3/06;A47B13/00;A47B13/02;F16B5/00;F16B9/02 |
| 分类 | 家具;家庭用的物品或设备;咖啡磨;香料磨;一般吸尘器; |
| 申请人名称 | 珠海励致洋行办公家私有限公司 |
| 申请人地址 | 广东省珠海市国家高新开发区金洲路 |
专利法律状态
2024-03-01
授权
状态信息
授权
2020-09-04
实质审查的生效
状态信息
实质审查的生效;IPC(主分类):A47B3/06;申请日:20200417
2020-08-11
公布
状态信息
公布
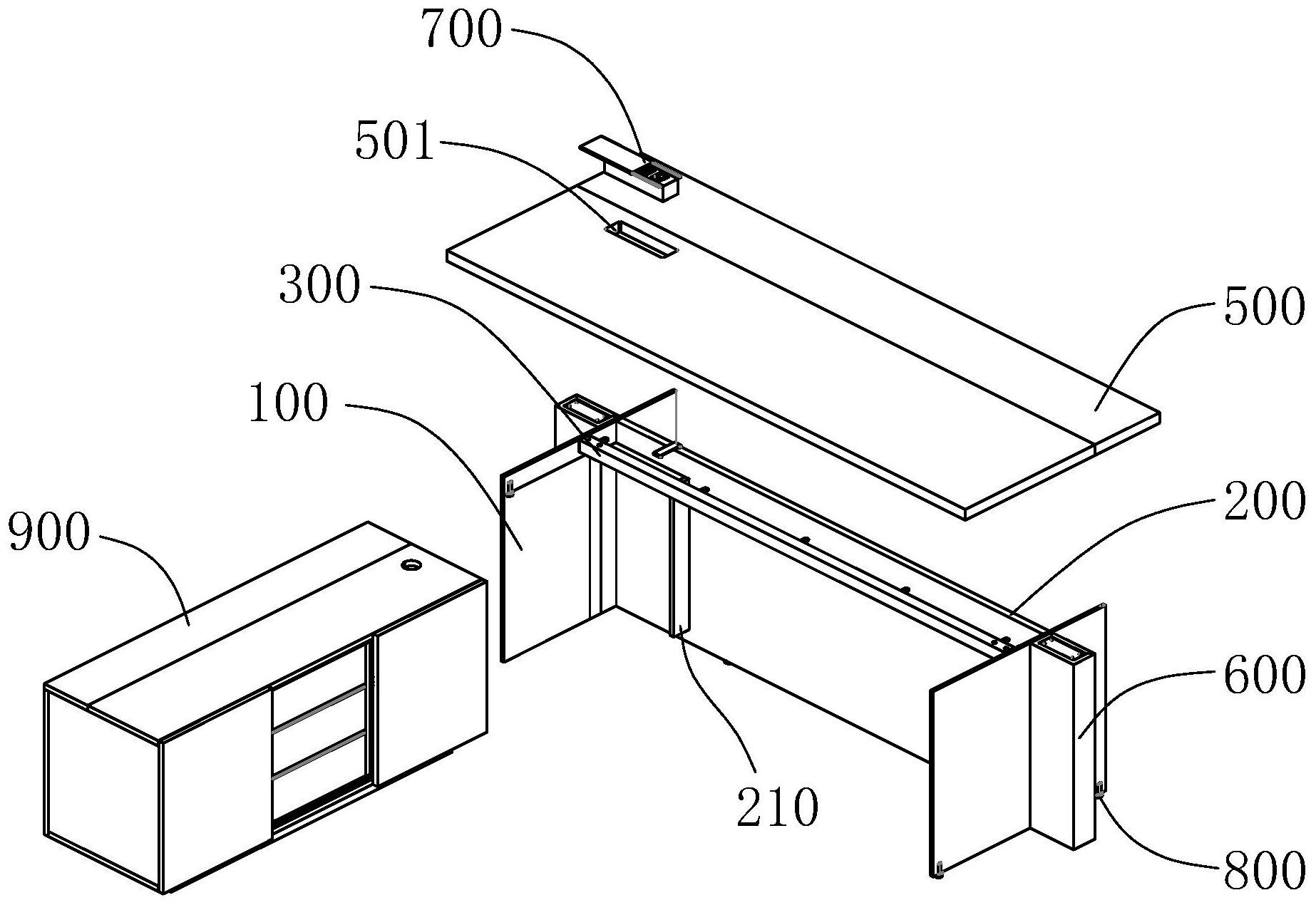
摘要
本发明涉及家具结构领域,特别涉及一种办公桌,包括:底板,设有限位板;侧板,包括两组,两组所述侧板分别连接所述底板两侧;横梁,两端分别与两个所述侧板连接;连接件,设置在所述横梁端部与所述侧板之间;台面,底部连接所述横梁和所述底板;侧支撑件,包括两组,两组所述侧支撑件固定在两个所述侧板外侧;侧柜,卡接在所述限位板与所述侧板之间。本发明还公开一种办公桌的组装方法。本发明的办公桌通过利用底板与横梁安装台面,同时利用侧支撑件限制侧板的自由度,可保证支撑结构的稳定性。各个结构的配合连接方便了办公桌整体的拆装,保证了办公桌的拆装效率,大大减小了办公桌的运输空间。


