授权公布号:CN218672351U
一种自适应安装不同高度三角龙骨的浴霸面板
有效
申请
2022-10-18
申请公布
1970-01-01
授权
2023-03-21
预估到期
2032-10-18
| 申请号 | CN202222742001.6 |
| 申请日 | 2022-10-18 |
| 授权公布号 | CN218672351U |
| 授权公告日 | 2023-03-21 |
| 分类号 | F24D19/02;F24D19/06 |
| 分类 | 供热;炉灶;通风; |
| 申请人名称 | 飞雕电器集团有限公司 |
| 申请人地址 | 上海市松江区港德路288号 |
专利法律状态
2023-03-21
授权
状态信息
授权
摘要
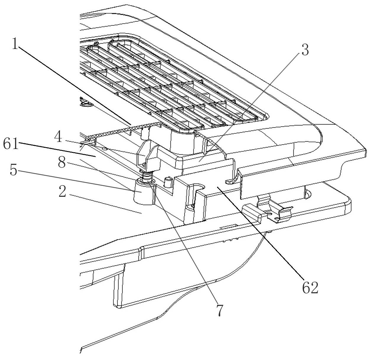
本实用新型提供一种自适应安装不同高度三角龙骨的浴霸面板,包括面板,面板覆盖于主机的上端,面板的下端设有格栅,格栅的一侧凸出设有上安装槽,主机的上端凸出设有台阶,台阶呈方框状,台阶的一侧设有下安装槽,上安装槽和下安装槽的位置对应,上安装槽设有通孔,下安装槽设有螺孔,通孔上下贯穿设有连接螺栓,连接螺栓与螺孔通过螺纹连接,连接螺栓顶部螺头的外径大于通孔的内径,连接螺栓的外侧套接弹簧,弹簧的上端由上安装槽的下端限位,弹簧的下端与螺孔上端的外缘固定连接;本实用新型利用弹簧来控制格栅高度来匹配面板,装配简单方便,实现格栅与面板无差距配合。


