授权公布号:CN219041594U
一种永磁电机端盖安装的辅助工装
有效
申请
2022-12-31
申请公布
1970-01-01
授权
2023-05-16
预估到期
2032-12-31
| 申请号 | CN202223581383.5 |
| 申请日 | 2022-12-31 |
| 授权公布号 | CN219041594U |
| 授权公告日 | 2023-05-16 |
| 分类号 | H02K15/14 |
| 分类 | 发电、变电或配电; |
| 申请人名称 | 安徽皖南电机股份有限公司 |
| 申请人地址 | 安徽省宣城市泾县泾川镇南华路86号 |
专利法律状态
2023-05-16
授权
状态信息
授权
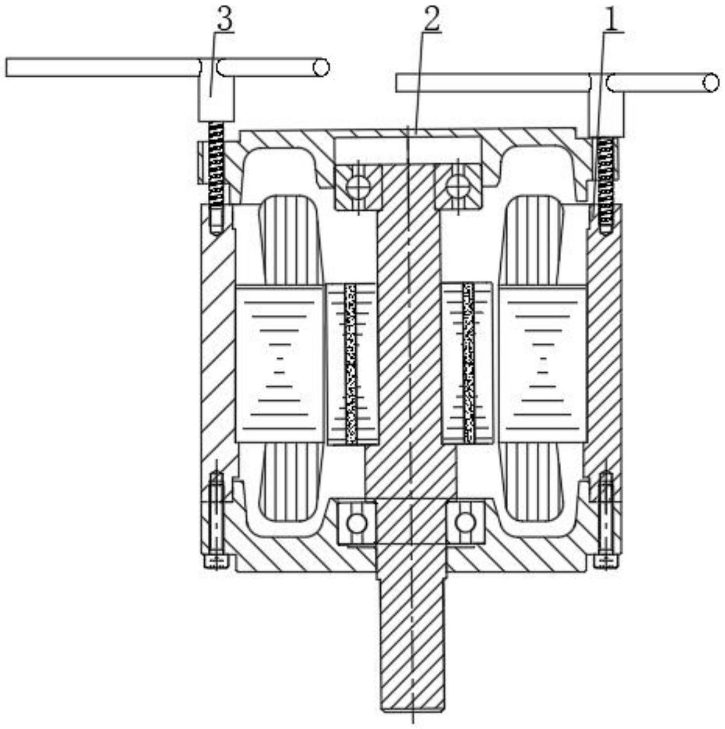
摘要
本实用新型涉及一种永磁电机端盖安装的辅助工装,包括机座、后端盖以及工装主体,所述后端盖位于机座的顶部,所述机座顶部的两侧分别开设有机座止口,所述后端盖的两侧对应机座止口的位置开设有端盖止口,且所述端盖止口与机座止口之间为配套使用。本实用新型在使用时先将工装主体的螺纹柱穿过后端盖的端盖止口,然后使螺纹柱的底部与机座顶部的机座止口螺纹连接,然后用手转动手柄即可带动螺纹柱在机座止口内旋转的过程中带动后端盖的端盖止口进入到机座内,即可使后端盖与机座对齐,然后将工装主体反向旋转取出,再更换要求的螺栓即可完成后端盖的安装,不需要使用手动扳手,操作方便且省力。


