授权公布号:CN217348313U
茶叶进料装置
有效
申请
2022-05-11
申请公布
1970-01-01
授权
2022-09-02
预估到期
2032-05-11
| 申请号 | CN202221130939.6 |
| 申请日 | 2022-05-11 |
| 授权公布号 | CN217348313U |
| 授权公告日 | 2022-09-02 |
| 分类号 | B65B1/32;B65B43/30;B65B43/54 |
| 分类 | 输送;包装;贮存;搬运薄的或细丝状材料; |
| 申请人名称 | 武夷山香江茶业有限公司 |
| 申请人地址 | 福建省南平市武夷山生态创业园区仙云路1号 |
专利法律状态
2022-09-02
授权
状态信息
授权
摘要
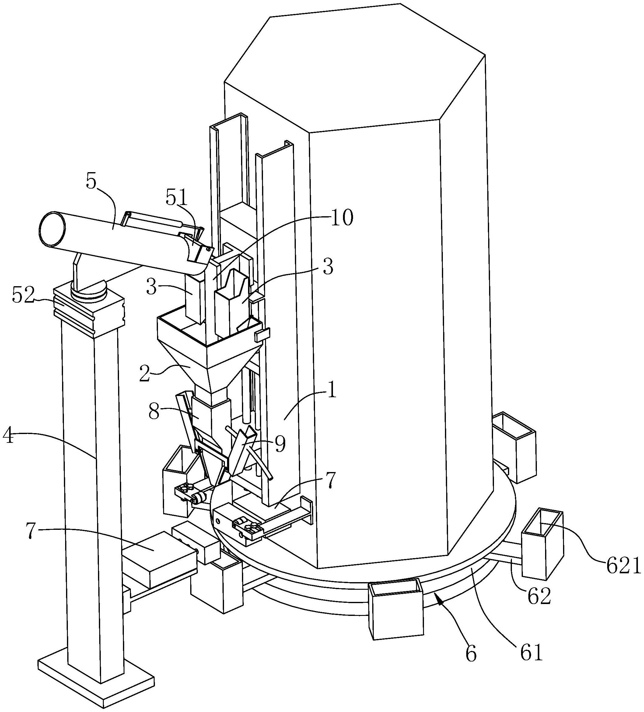
本实用新型涉及一种茶叶进料装置,包括第一机架,在第一机架上固设有过渡料仓,缓存料仓,每个缓存料仓的底部开口都设有第一开关组件,在过渡料仓的纵向一旁侧设有第二机架,第二机架上设有称量料仓,所述称量料仓上设有称量装置,所述过渡料仓的下方还设有运输机构,在运输机构上方和过渡料仓下开口下方之间还设有吸盘组件,在吸盘组件上方和缓存料仓下方之间还设有活动料仓,所述活动料仓上还设有撑开机构。本实用新型可连续定量输送茶叶到包装袋中,能够提升茶叶称量和进料效率,保证产品的一致性。


