授权公布号:CN217487507U
一种红茶加工用烘干设备
有效
申请
2022-03-08
申请公布
1970-01-01
授权
2022-09-27
预估到期
2032-03-08
| 申请号 | CN202220486055.8 |
| 申请日 | 2022-03-08 |
| 授权公布号 | CN217487507U |
| 授权公告日 | 2022-09-27 |
| 分类号 | A23F3/06 |
| 分类 | 其他类不包含的食品或食料;及其处理; |
| 申请人名称 | 安徽省祁门红茶发展有限公司 |
| 申请人地址 | 安徽省黄山市祁门县五里牌 |
专利法律状态
2022-09-27
授权
状态信息
授权
摘要
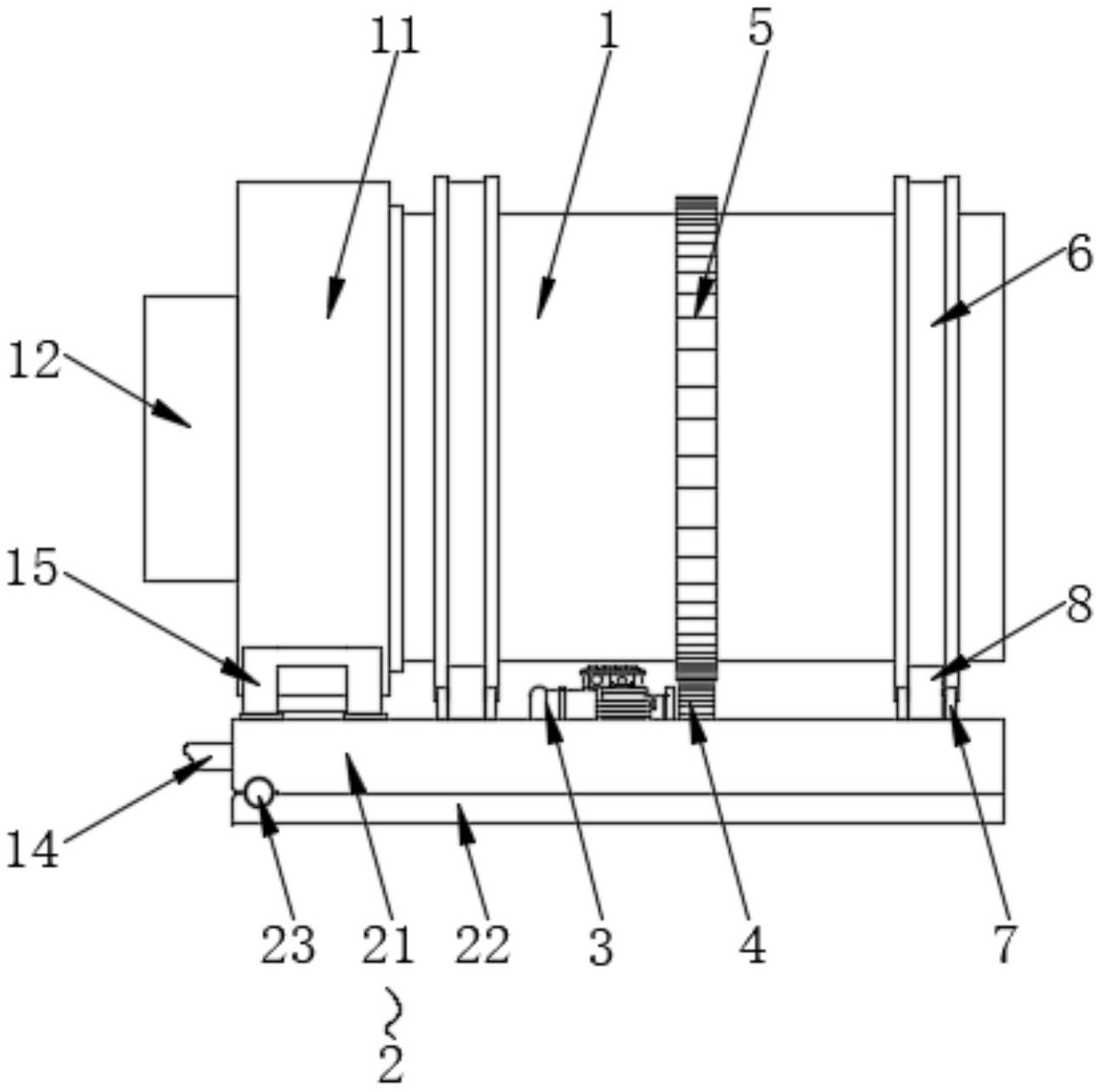
本实用新型公开一种红茶加工用烘干设备,包括烘干筒和支撑架,所述支撑架的内部通过安装板设置有驱动电机,所述驱动电机的输出端固定连接有驱动齿轮,所述烘干筒的外表面固定连接有驱动齿圈,通过在烘干筒的内部设置加热筒,并配合驱动电池上的驱动齿轮和驱动齿圈的啮合关系,能够使得烘干筒进行转动,从而使得红茶能够在加热筒的内表面进行滚动,通过此种方式能够使得红茶在加热筒内均匀受热,从而提高其烘干的效果,并且设置弧形板能够防止红茶在烘干时进入限位箱的内部,而当烘干筒反向转动时,并且斜块推出斜槽内时,烘干筒处于倾斜状态,弧形板能够使得红茶快速落出。


