授权公布号:CN219406423U
一种电动观光车助力刹车装置
有效
申请
2023-03-14
申请公布
1970-01-01
授权
2023-07-25
预估到期
2033-03-14
| 申请号 | CN202320472006.3 |
| 申请日 | 2023-03-14 |
| 授权公布号 | CN219406423U |
| 授权公告日 | 2023-07-25 |
| 分类号 | B60T17/00;B60T17/02 |
| 分类 | 一般车辆; |
| 申请人名称 | 武汉科荣车业有限公司 |
| 申请人地址 | 湖北省武汉市黄陂区祁家湾街道孝天大道特1号 |
专利法律状态
2023-07-25
授权
状态信息
授权
摘要
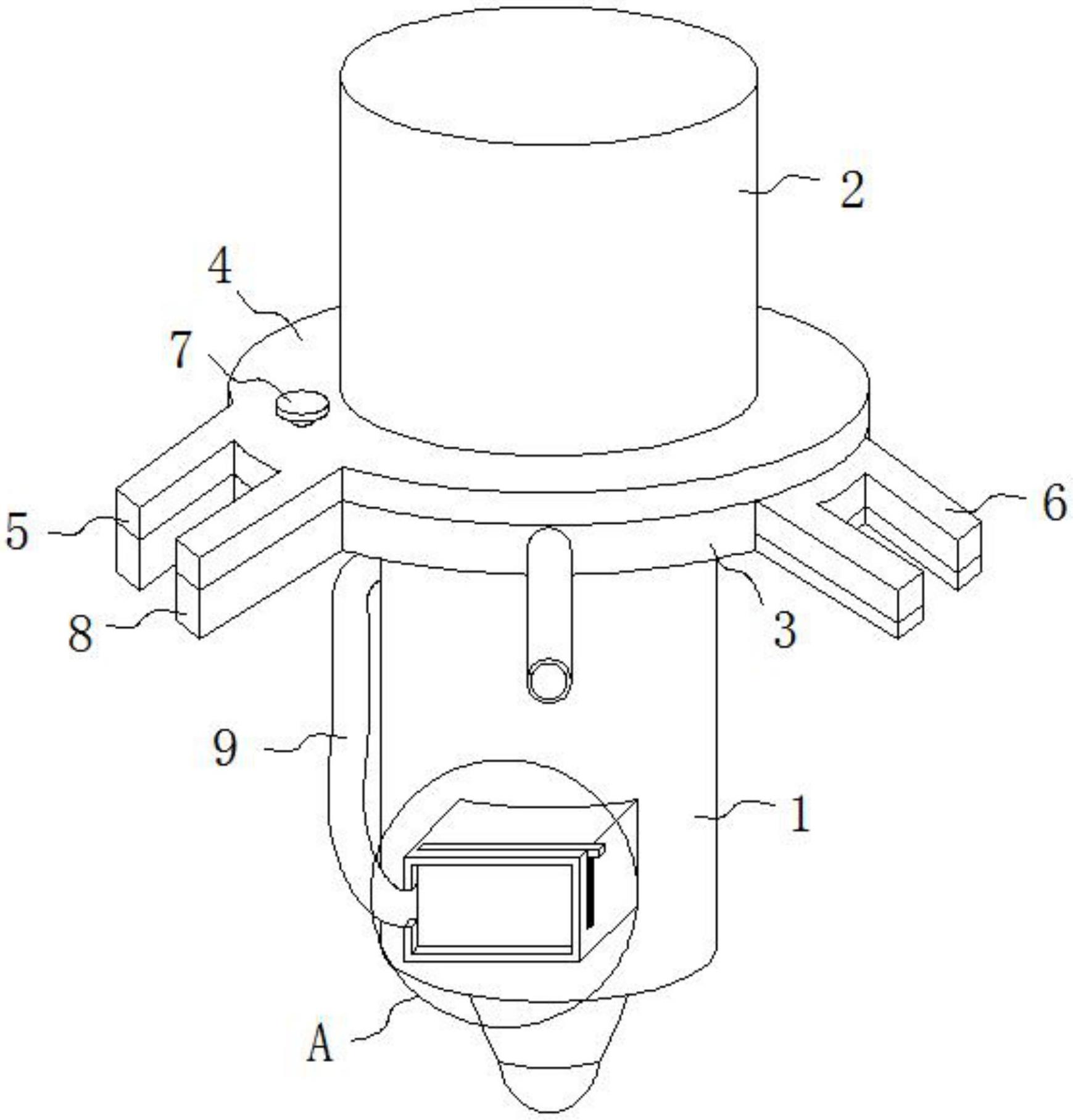
本实用新型提供一种电动观光车助力刹车装置,包括泵体,所述泵体的顶端固定安装有泵体盖,所述泵体盖的底端的外侧固定安装有固定环,能够将插接件安装在保护盒的内部,将插板插接在插槽的内部,通过弹簧的拉力对插板进行限位,通过保护机构能够增加对插接件的保护,避免在运输的过程中插接件受到挤压的作用而影响到插接件的使用,安全性高;通过转动紧固螺栓,能够对调节环进行转动,从而对调节安装架的位置进行调节,方便对该助力刹车装置进行固定安装,操作简单,使用方便。


