授权公布号:CN216473640U
一种麻纤维开松梳理联合生产线
有效
申请
2021-11-29
申请公布
1970-01-01
授权
2022-05-10
预估到期
2031-11-29
| 申请号 | CN202122981372.5 |
| 申请日 | 2021-11-29 |
| 授权公布号 | CN216473640U |
| 授权公告日 | 2022-05-10 |
| 分类号 | D01G21/00 |
| 分类 | 天然或人造的线或纤维;纺纱或纺丝; |
| 申请人名称 | 青岛东佳纺机(集团)有限公司 |
| 申请人地址 | 山东省青岛市黄岛区王台镇巨洋路89号 |
专利法律状态
2022-05-10
授权
状态信息
授权
摘要
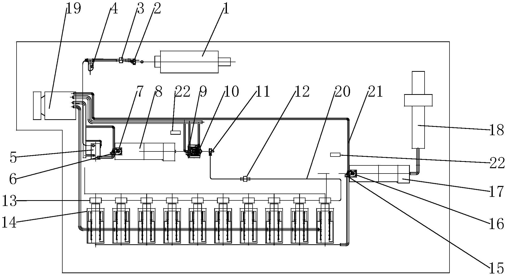
本实用新型公开了一种麻纤维开松梳理联合生产线,包括大麻清弹机、重物分离器、单轴流开棉机、一号大仓混棉机、精开棉机、数组梳理单元、二号大仓混棉机和打包机,上述各装置之间通过输毛管道顺次相互连接;数组梳理单元之间相互并联并串联至整个生产线中。联合生产线中还设有多个风机、火星金属探除器和凝棉器,分别固定安装在对应的位置,所述单轴流开棉机、多个风机、精开棉机和数组梳理单元的出尘口均通过滤尘管道连通滤尘机。本实用新型是一种新型联合生产线,适用于大批量连续化生产,保证了各个环节之间的衔接性,减少因环节出错造成的生产间断,大大提高了生产效率;且注重防火安全,实现半自动化生产,降低了人工成本,提升了产品质量。


