授权公布号:CN209508489U
羊绒分梳联合机
有效
申请
2019-01-29
申请公布
1970-01-01
授权
2019-10-18
预估到期
2029-01-29
| 申请号 | CN201920158397.5 |
| 申请日 | 2019-01-29 |
| 授权公布号 | CN209508489U |
| 授权公告日 | 2019-10-18 |
| 分类号 | D01G21/00;D01G15/26;D01G15/24 |
| 分类 | 天然或人造的线或纤维;纺纱或纺丝; |
| 申请人名称 | 青岛东佳纺机(集团)有限公司 |
| 申请人地址 | 山东省青岛市黄岛区王台镇巨洋路89号 |
专利法律状态
2019-10-18
授权
状态信息
授权
摘要
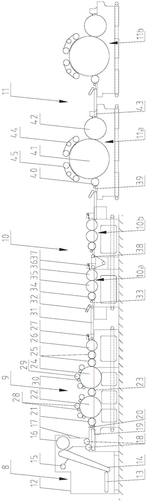
本实用新型公开了一种羊绒分梳联合机,其包括由后向前依次布置的喂入机构、开松机构、平梳机构以及梳理机构;平梳机构包括级联的两组平梳单元;每组平梳单元均包括由后向前依次设置的喂入罗拉、刺辊、平梳锡林、道夫和剥取斩刀,其中,刺辊、平梳锡林和道夫呈一字型排列;梳理机构包括级联的两组梳理单元;每组梳理单元均包括由后向前依次设置的喂入罗拉、刺辊、梳理锡林、道夫和剥取斩刀,在梳理锡林的上部后侧以及上部前侧分别安装有后侧活动盖板和前侧活动盖板。本实用新型可以在减少梳理机构中梳理单元数量的同时,保证羊绒分梳联合机的分梳效果,从而减少羊绒分梳联合机的占地面积。


