授权公布号:CN213977997U
一种自动化简易棉被生产线
有效
申请
2020-11-24
申请公布
1970-01-01
授权
2021-08-17
预估到期
2030-11-24
| 申请号 | CN202022750412.0 |
| 申请日 | 2020-11-24 |
| 授权公布号 | CN213977997U |
| 授权公告日 | 2021-08-17 |
| 分类号 | D01G21/00;D01G23/00 |
| 分类 | 天然或人造的线或纤维;纺纱或纺丝; |
| 申请人名称 | 青岛东佳纺机(集团)有限公司 |
| 申请人地址 | 山东省青岛市黄岛区王台镇巨洋路89号 |
专利法律状态
2021-08-17
授权
状态信息
授权
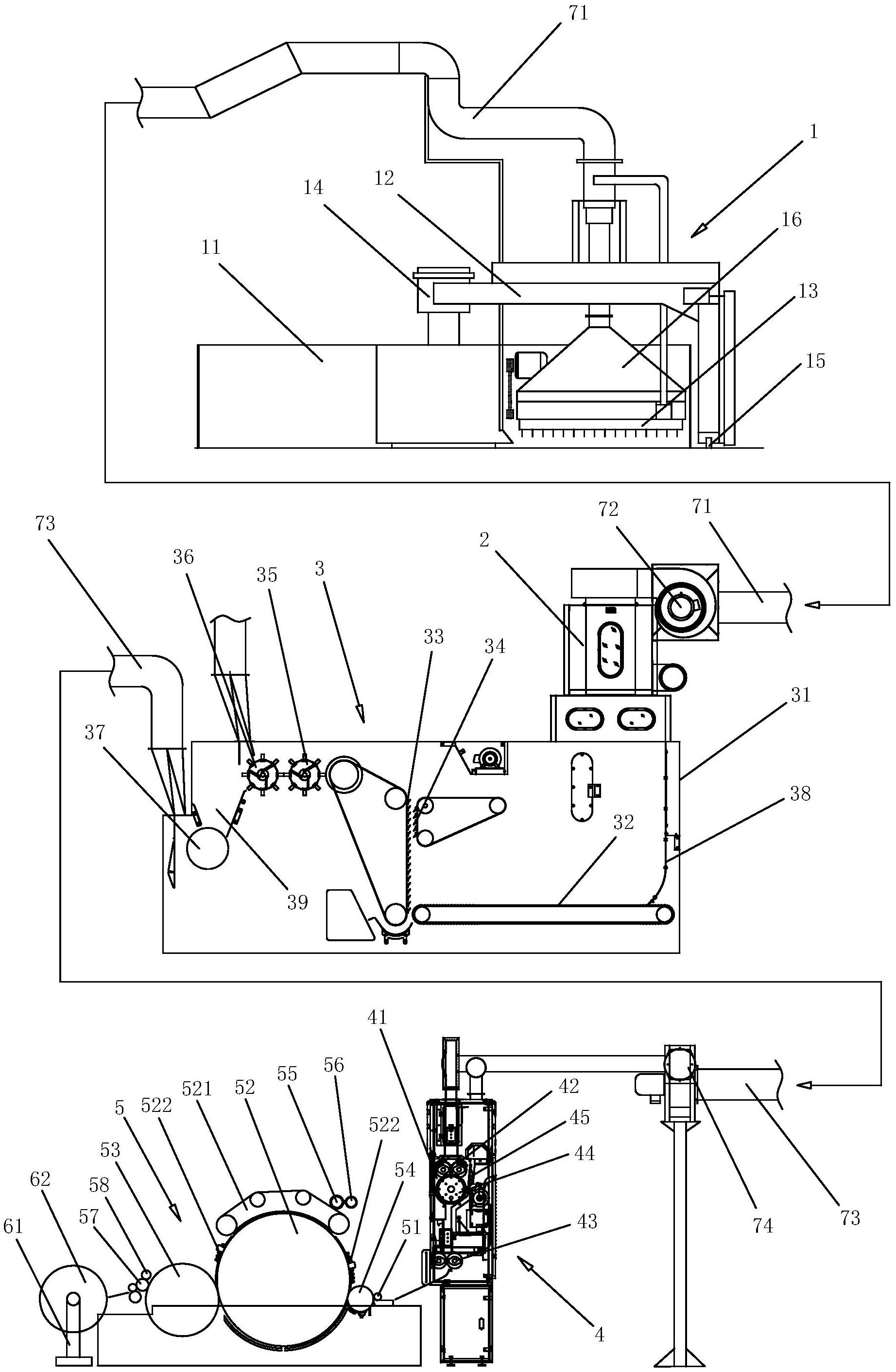
摘要
本实用新型公开一种自动化简易棉被生产线,包括圆盘式抓棉机、凝棉器、混开棉机、棉箱、梳棉机及棉网收集机构,圆盘式抓棉机的出棉口通过第一输棉管、第一风机与凝棉器的入口相连相通。凝棉器设在混开棉机的后上方,其底部与混开棉机相连相通,混开棉机的出棉口通过第二输棉管与棉箱相连,第二输棉管上设有第二风机。棉箱、梳棉机及棉网收集机构由后往前依次布置,棉网收集机构包括棉网卷绕辊和支架,棉网卷绕辊设置在支架上,其两端分别与支架转动配合。本实用新型经过多次开松,除杂彻底,自动化程度高,原料在各工序间流转快速,生产连续性好,工人数量减少,降低了人工成本,提高了生产效率和产品品质。


