授权公布号:CN218507964U
一种柔性开松高产梳理机
有效
申请
2022-11-09
申请公布
1970-01-01
授权
2023-02-21
预估到期
2032-11-09
| 申请号 | CN202222978418.2 |
| 申请日 | 2022-11-09 |
| 授权公布号 | CN218507964U |
| 授权公告日 | 2023-02-21 |
| 分类号 | D01G21/00;D01G23/00;D01G9/16;D01G15/26 |
| 分类 | 天然或人造的线或纤维;纺纱或纺丝; |
| 申请人名称 | 青岛东佳纺机(集团)有限公司 |
| 申请人地址 | 山东省青岛市黄岛区王台镇巨洋路89号 |
专利法律状态
2023-02-21
授权
状态信息
授权
摘要
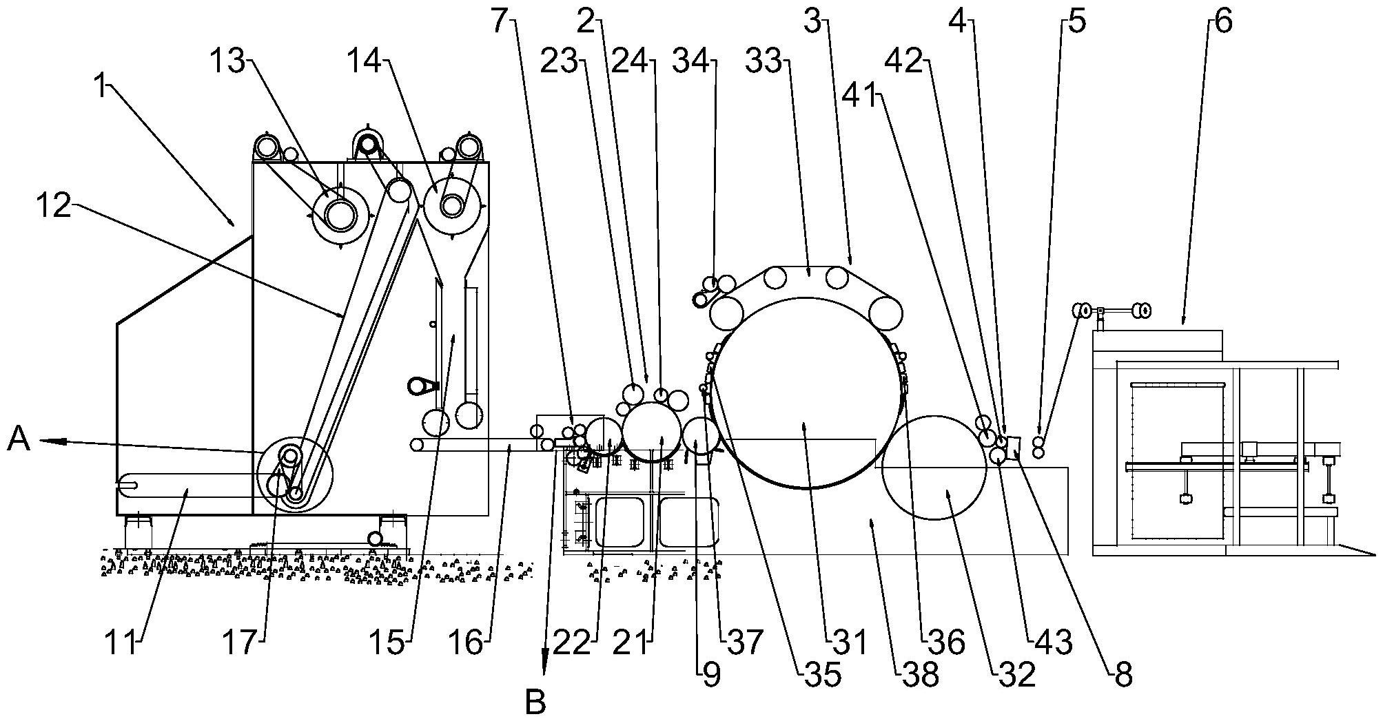
本实用新型公开了一种柔性开松高产梳理机,包括喂入机构、开松机构、梳理机构、剥取机构、成条机构和圈条机构,上述各结构按顺序依次衔接排列。其中喂入机构中自动喂毛机内部设置的平帘和斜帘之间通过传动装置相连;自动喂毛机的出口通过喂入部分衔接开松机构。传动装置包括摇臂、摆杆和轴端连接件,摇臂的下端套装在平帘轴的端部,轴端连接件安装在斜帘轴的一端,摇臂的上端通过摆杆连接至轴端连接件。喂入部分包括给棉板、给棉罗拉以及一对喂入罗拉,给棉板的前端向上、向前延伸形成鼻尖部。本实用新型能够有效避免产生纤维堆积、打卷,加快纤维传送;同时能够有效地减少对喂入纤维的损伤;有利于提高运行速度,进一步满足梳棉机高产的需要。


