授权公布号:CN210916387U
一种工作辊防绕线结构
有效
申请
2019-08-27
申请公布
1970-01-01
授权
2020-07-03
预估到期
2029-08-27
| 申请号 | CN201921404313.8 |
| 申请日 | 2019-08-27 |
| 授权公布号 | CN210916387U |
| 授权公告日 | 2020-07-03 |
| 分类号 | D01G15/18 |
| 分类 | 天然或人造的线或纤维;纺纱或纺丝; |
| 申请人名称 | 青岛东佳纺机(集团)有限公司 |
| 申请人地址 | 山东省青岛市黄岛区王台镇巨洋路89号 |
专利法律状态
2020-07-03
授权
状态信息
授权
摘要
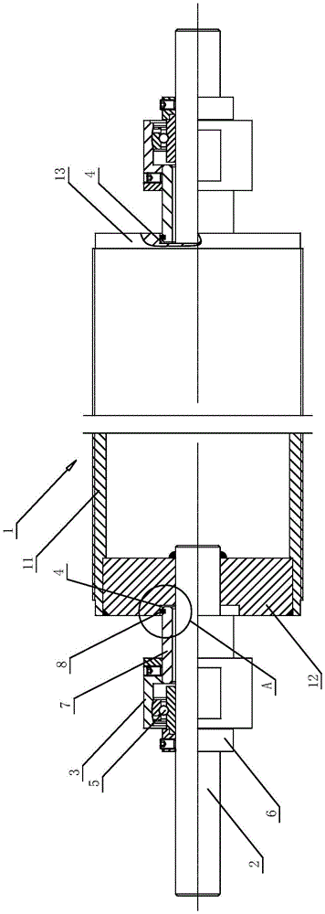
本实用新型公开一种工作辊防绕线结构,包括工作辊、转轴及支架,工作辊为等截面圆形辊体,工作辊横向布置。转轴有两个,对称设置在工作辊的两端,所述转轴的一端与工作辊的对应端同轴固定相连成一体。每个转轴位于工作辊外侧的部分均设有一个所述支架,转轴通过轴承与对应的支架转动配合。每个转轴的外部套设有一个套筒,套筒的一端与支架固定相连,另一端与工作辊的对应端活动密封配合。本实用新型在工作辊的两端设置套筒,套筒与工作辊的端部采用粘圈活动密封,纤维和毛不会与转轴发生缠绕,无需停机清理,省时省力,提高工作效率。


