授权公布号:CN217125102U
一种遥控式救生圈
有效
申请
2022-05-13
申请公布
1970-01-01
授权
2022-08-05
预估到期
2032-05-13
| 申请号 | CN202221156540.5 |
| 申请日 | 2022-05-13 |
| 授权公布号 | CN217125102U |
| 授权公告日 | 2022-08-05 |
| 分类号 | B63C9/13 |
| 分类 | 船舶或其他水上船只;与船有关的设备; |
| 申请人名称 | 江苏华燕船舶装备有限公司 |
| 申请人地址 | 江苏省镇江市丹阳市开发区黄金塘西路8-2号 |
专利法律状态
2022-08-05
授权
状态信息
授权
摘要
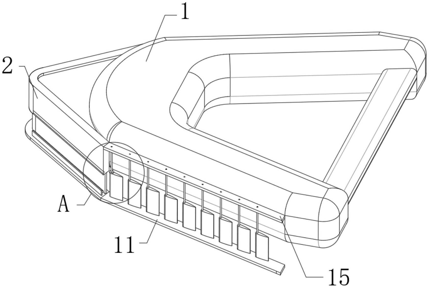
本实用新型涉及救生圈领域,具体公开了一种遥控式救生圈,包括:救生圈本体,救生圈本体一端设置有破浪板,破浪板外侧设置有固定槽,救生圈本体外侧端固定连接顶板;活动槽,活动槽位于破浪板内部,活动槽内部设置有弹簧,弹簧底部固定连接抵板,抵板底部固定连接分流板,分流板底部设置有底板,底板上端外侧设置有侧板,侧板内侧设置有固定条;拉板,拉板位于救生圈本体外侧,拉板上端固定连接固定柱,固定柱中间设置有固定块,固定柱底部外侧套设有导流板;有益效果为:本实用新型通过提出的遥控式救生圈内的破浪板,可以将迎面而来的波浪破开,避免波浪打到救生圈本体上导致方向出错。


