授权公布号:CN207267606U
一种便于倾倒白糖的包装袋
有效
申请
2017-09-11
申请公布
1970-01-01
授权
2018-04-24
预估到期
2027-09-11
| 申请号 | CN201721162724.1 |
| 申请日 | 2017-09-11 |
| 授权公布号 | CN207267606U |
| 授权公告日 | 2018-04-24 |
| 分类号 | B65D30/08;B65D33/28;B65D33/04;B65D33/36 |
| 分类 | 输送;包装;贮存;搬运薄的或细丝状材料; |
| 申请人名称 | 广州华糖食品有限公司 |
| 申请人地址 | 广东省广州市黄埔区东区开创大道362号 |
专利法律状态
2018-04-24
授权
状态信息
授权
摘要
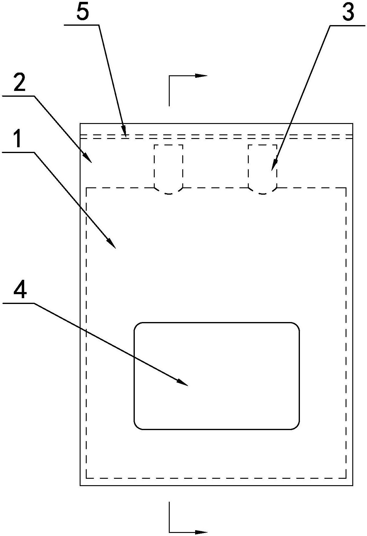
本实用新型公开了一种便于倾倒白糖的包装袋,包括内层袋和外层袋,外层袋包裹内层袋,内层袋的边缘与外层袋的内壁固定连接,内层袋的一侧设有两出料嘴,两出料嘴被外层袋包裹,两出料嘴均为硬质塑料,两出料嘴朝向外层袋的开口侧,两出料嘴均为中空的管体,一个出料嘴内设有滤网,外层袋的开口侧设有可反复拼接或分离的封条。一个出料嘴用于快速地倒出白糖,另一个出料嘴用于缓慢地倒出白糖,两种倾倒模式能很好地适应使用环境;同时外层袋可以在不使用时将两出料嘴包裹,既避免两出料嘴受到污染又使整个包装显得简洁美观。此实用新型用于食品包装袋领域。


