授权公布号:CN217916214U
一种开炼机自动切条装置
有效
申请
2022-07-20
申请公布
1970-01-01
授权
2022-11-29
预估到期
2032-07-20
| 申请号 | CN202221883817.4 |
| 申请日 | 2022-07-20 |
| 授权公布号 | CN217916214U |
| 授权公告日 | 2022-11-29 |
| 分类号 | B29B7/64 |
| 分类 | 塑料的加工;一般处于塑性状态物质的加工; |
| 申请人名称 | 华美节能科技集团有限公司 |
| 申请人地址 | 河北省廊坊市大城县留各庄镇 |
专利法律状态
2022-11-29
授权
状态信息
授权
摘要
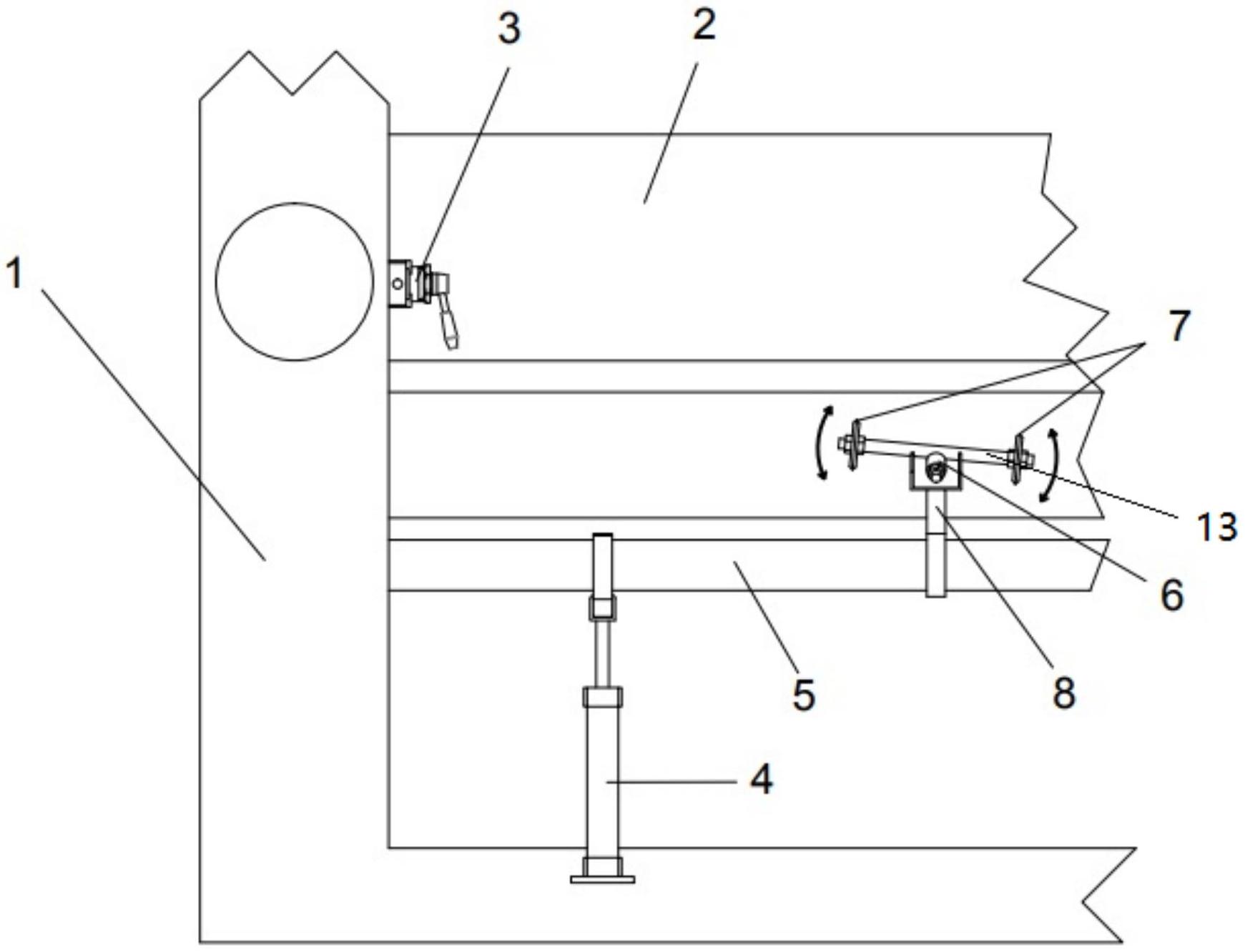
本实用新型公开了一种开炼机自动切条装置,包括竖直的固定设置于开炼机底部的气缸,所述气缸的伸缩端与光轴相连接,所述光轴的一端与所述开炼机的侧壁铰接连接,所述光轴的另一端设置有切刀支架,所述切刀支架上可转动的设置有切刀轴,所述切刀轴上设置有与其相垂直的刀杆,所述刀杆的两端分别设置有切刀。本实用新型通过换向气阀控制气缸伸缩运动使光轴旋转,带动切刀支架向上翘起,使切刀接触辊筒,切刀轴可对两个切刀进行自动平衡调节。从而让两侧切刀接触辊筒,避免了两侧切刀不能以相同力度接触辊筒,出现一边切开另一边切不开现象,减少了切刀调整频率,利于控制产品的整齐度,同时减少了在运转过程中频繁调整切刀造成的事故。


