授权公布号:CN207362352U
金刚石线锯的制备装置
有效
申请
2017-10-30
申请公布
1970-01-01
授权
2018-05-15
预估到期
2027-10-30
| 申请号 | CN201721420739.3 |
| 申请日 | 2017-10-30 |
| 授权公布号 | CN207362352U |
| 授权公告日 | 2018-05-15 |
| 分类号 | C25D15/00;C25D7/06 |
| 分类 | 电解或电泳工艺;其所用设备〔4〕; |
| 申请人名称 | 长沙岱勒新材料科技股份有限公司 |
| 申请人地址 | 湖南省长沙市高新开发区环联路108号 |
专利法律状态
2018-05-15
授权
状态信息
授权
摘要
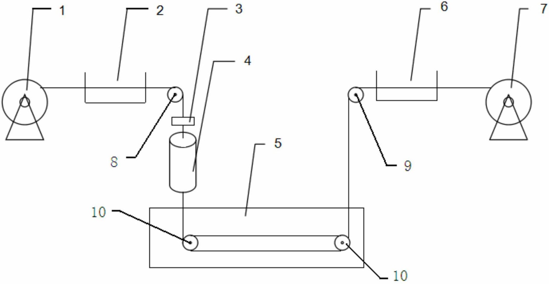
本实用新型公开了一种金刚石线锯的制备装置,包括分别设置在制备装置的两端并连接传动装置的放线导轮和收线导轮,还包括用于传送胚线的过渡导轮;放线导轮与收线导轮之间设有用于将金刚砂散布在胚线周围的散砂桶,散砂桶下方设置用于将金刚砂粘附在胚线上的上砂桶,上砂桶内设有静电场;还包括用于将金刚砂固结在胚线上的电镀槽。上述制备装置解决了现有金刚石线锯制备过程中金刚砂在电镀液中悬浮不稳定的问题,提高了金刚砂的利用率,上砂效率高;上砂效果取决于静电场的大小、胚线的走线速度以及胚线周围的散砂密度,上述制备装置增强了上砂效果的调控能力,提高了金刚石线锯的生产效率。上述制备装置结构简单,操作方便,成本低。


