授权公布号:CN216434340U
一种测评镀覆金刚石磁化率的装置
有效
申请
2021-11-29
申请公布
1970-01-01
授权
2022-05-03
预估到期
2031-11-29
| 申请号 | CN202122947683.X |
| 申请日 | 2021-11-29 |
| 授权公布号 | CN216434340U |
| 授权公告日 | 2022-05-03 |
| 分类号 | G01R33/16 |
| 分类 | 测量;测试; |
| 申请人名称 | 长沙岱勒新材料科技股份有限公司 |
| 申请人地址 | 湖南省长沙市高新开发区环联路108号 |
专利法律状态
2022-05-03
授权
状态信息
授权
摘要
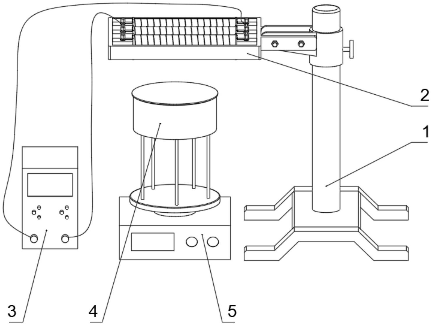
本实用新型提供了一种测评镀覆金刚石磁化率的装置,涉及镀覆金刚石筛选仪器技术领域。该装置包括支架、磁力发生装置、天平及直流电源;所述磁力发生装置用于产生激励磁场以与待测镀覆金刚石发生相互作用;所述天平用于测量待测镀覆金刚石在受到激励磁场作用前后的质量差;测试时,待测镀覆金刚石放置在所述天平上并一起置于所述磁力发生装置下方,藉由镀覆金刚石与激励磁场相互作用导致天平读数前后产生变化,将待测镀覆金刚石测得的质量差与达标的质量差区间相比较,便可得知该待测镀覆金刚石的磁化率是否符合要求,测试过程快速、准确,具有较强的生产实践参考价值,且整个装置结构简单、容易制造,能够大幅度降低此种测量仪器的成本。


