授权公布号:CN218666357U
一种预镀槽
有效
申请
2022-08-26
申请公布
1970-01-01
授权
2023-03-21
预估到期
2032-08-26
| 申请号 | CN202222268569.9 |
| 申请日 | 2022-08-26 |
| 授权公布号 | CN218666357U |
| 授权公告日 | 2023-03-21 |
| 分类号 | C25D17/00;C25D7/06 |
| 分类 | 电解或电泳工艺;其所用设备〔4〕; |
| 申请人名称 | 长沙岱勒新材料科技股份有限公司 |
| 申请人地址 | 湖南省长沙市高新开发区环联路108号 |
专利法律状态
2023-03-21
授权
状态信息
授权
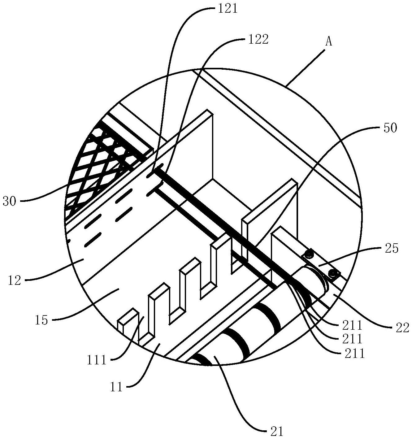
摘要
本实用新型提供了一种预镀槽,属于电镀设备技术领域,槽体;导电组件,导电组件包括导电棒,导电棒上开设环形槽组,环形槽组为多个沿导电棒的周向延伸的环形槽;金属线网,金属线网的两端分别缠绕于导电棒的多个环形槽上;阳极组件,阳极组件设于槽体内;本实用新型中,通过在导电棒上开设多个沿导电棒的周向延伸的环形槽,多个环形槽为金属线网提供安装位置,增加了金属线网与槽体内镀液的接触面积,不受电流密度的限制,金属线上形成的镍层厚度大,制成的金刚石线的金刚石镀层与金属线的结合力强,金刚石线的切割稳定可靠,切割过程中不易断线,切割成本低。并且,能够提高多根金属线的走速,整体生产成本低,生产效率高。


