授权公布号:CN215668260U
一种改进型霍尔槽试验装置
有效
申请
2021-08-09
申请公布
1970-01-01
授权
2022-01-28
预估到期
2031-08-09
| 申请号 | CN202121849773.9 |
| 申请日 | 2021-08-09 |
| 授权公布号 | CN215668260U |
| 授权公告日 | 2022-01-28 |
| 分类号 | C25D17/00;C25D17/02;C25D21/02;C25D21/10;C25D21/08;C25D21/12;C25D21/14 |
| 分类 | 电解或电泳工艺;其所用设备〔4〕; |
| 申请人名称 | 长沙岱勒新材料科技股份有限公司 |
| 申请人地址 | 湖南省长沙市高新开发区长沙环联路108号 |
专利法律状态
2022-01-28
授权
状态信息
授权
摘要
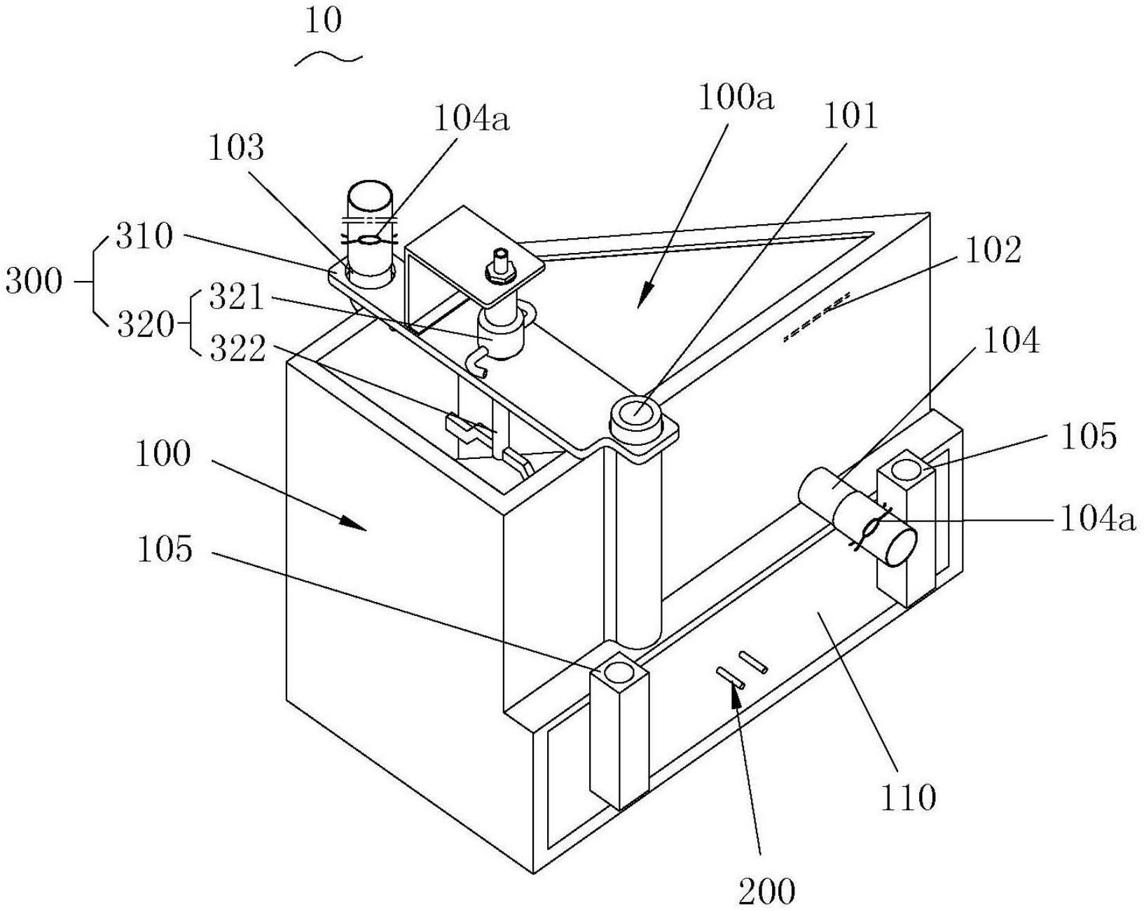
本申请提供了一种改进型霍尔槽试验装置,涉及材料电镀技术领域。改进型霍尔槽试验装置包括霍尔槽本体、加热组件及搅拌组件。霍尔槽本体沿竖直方向由上至下设有镀槽及加热槽,镀槽与加热槽之间设有导热隔板,镀槽用于盛放镀液,加热槽用于填充导热液;霍尔槽本体上设置有进液口和排液口,进液口与排液口分别与镀槽连通,其中,进液口用于外接纯水供水管路。加热组件设置于霍尔槽本体及位于加热槽,在试验时用于加热导热液。搅拌组件设置于霍尔槽本体,在试验时用于对镀槽内的镀液进行旋转搅拌。本申请提供的改进型霍尔槽试验装置提高了试验的准确性,也让清洗操作更为便捷。


