授权公布号:CN207062691U
免填充型人造草坪
有效
申请
2017-07-31
申请公布
1970-01-01
授权
2018-03-02
预估到期
2027-07-31
| 申请号 | CN201720939104.8 |
| 申请日 | 2017-07-31 |
| 授权公布号 | CN207062691U |
| 授权公告日 | 2018-03-02 |
| 分类号 | E01C13/08 |
| 分类 | 道路、铁路或桥梁的建筑; |
| 申请人名称 | 江苏美创人造草坪有限公司 |
| 申请人地址 | 江苏省无锡市江海西路990-2205 |
专利法律状态
2018-03-02
授权
状态信息
授权
摘要
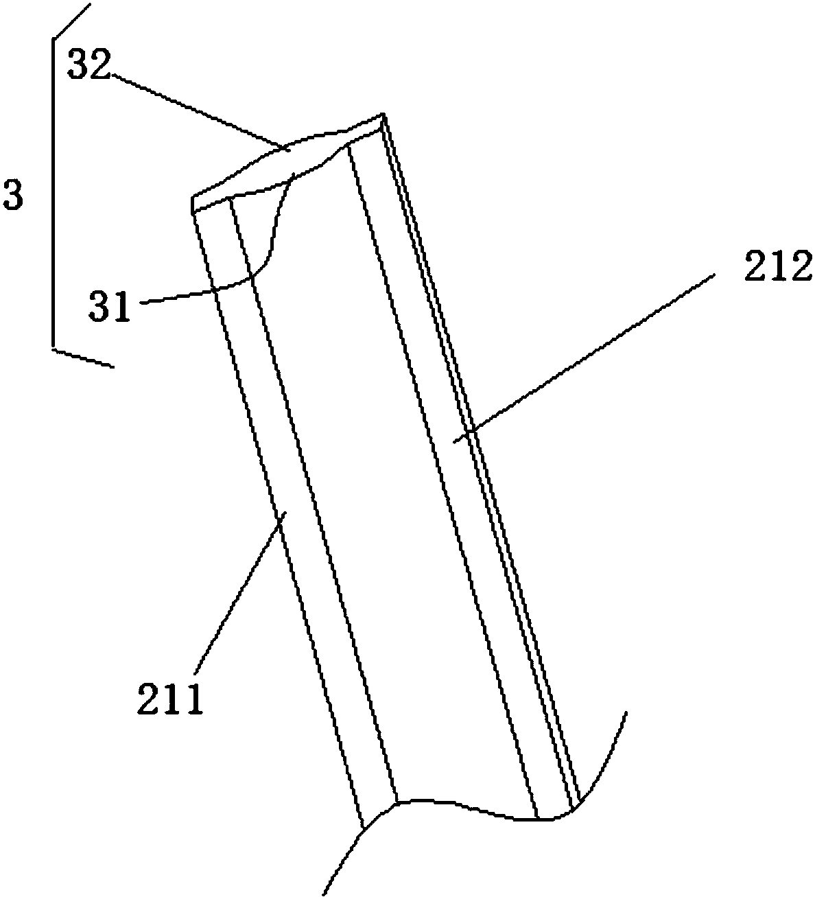
本实用新型涉及一种免填充型人造草坪,包括底布和编织在底布上的若干簇人造草丝,每簇人造草丝包括直丝和曲丝,曲丝环绕在直丝周围以支撑直丝;曲丝的横截面为增强曲丝的弹性强度的菱形;直丝凸设有上下方向延伸的提高直丝的强度的加强筋;加强筋设置在直丝的中部;加强筋的横截面为半椭圆形。该免填充型人造草坪,直丝强度较大,直丝与曲丝相互配合,可提高人造草坪的缓冲效果和回弹效果。


