授权公布号:CN210758621U
废丝回收装置
有效
申请
2019-10-11
申请公布
1970-01-01
授权
2020-06-16
预估到期
2029-10-11
| 申请号 | CN201921696076.7 |
| 申请日 | 2019-10-11 |
| 授权公布号 | CN210758621U |
| 授权公告日 | 2020-06-16 |
| 分类号 | B29B17/00;B29B17/04 |
| 分类 | 塑料的加工;一般处于塑性状态物质的加工; |
| 申请人名称 | 江苏文明人造草坪有限公司 |
| 申请人地址 | 江苏省无锡市江阴市长泾镇工业集中区开元路15号 |
专利法律状态
2020-06-16
授权
状态信息
授权
摘要
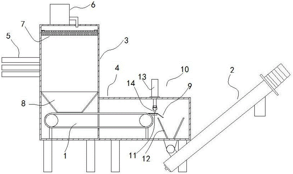
本实用新型公开了一种废丝回收装置,涉及草纤维废料回收技术领域。本实用新型包括水平输送机、螺旋输送机,还包括收集箱、与收集箱侧面连接的粉碎箱;收集箱侧面固定连通有多个进气管;收集箱与粉碎箱之间开有连通通道;收集箱上端面固定有引风机;引风机进气口通过管道与收集箱内部上端连通;收集箱内壁上端部安装有过滤网板;收集箱内壁且位于进气管下侧固定有聚料漏斗;水平输送机一端设置在聚料漏斗下侧;水平输送机另一端穿过连通通道至粉碎箱内部。本实用新型通过设计的水平输送机、水平输送机、收集箱、粉碎箱、分切板和往复分切装置组成回收生产线废料的装置,增加的废料再利用环节节能环保,解决了现有人造草丝纤维废料的问题。


