授权公布号:CN110682480B
一种石英石板材的布料装置
有效
申请
2019-10-31
申请公布
2020-01-14
授权
2020-09-22
预估到期
2039-10-31
| 申请号 | CN201911053386.1 |
| 申请日 | 2019-10-31 |
| 申请公布号 | CN110682480A |
| 申请公布日 | 2020-01-14 |
| 授权公布号 | CN110682480B |
| 授权公告日 | 2020-09-22 |
| 分类号 | B29C31/04 |
| 分类 | 塑料的加工;一般处于塑性状态物质的加工; |
| 申请人名称 | 安徽弗仕通实业有限公司 |
| 申请人地址 | 安徽省宣城市广德市经济开发区西区前进路19号 |
专利法律状态
2023-10-03
专利权质押合同登记的生效、变更及注销
状态信息
专利权质押合同登记的生效;IPC(主分类):B29C 31/04;专利号:ZL2019110533861;登记号:Y2023980056840;登记生效日:20230914;出质人:安徽弗仕通实业有限公司;质权人:安徽广德农村商业银行股份有限公司;发明名称:一种石英石板材的布料装置;申请日:20191031;授权公告日:20200922
2020-09-22
授权
状态信息
授权
2020-09-11
专利申请权、专利权的转移
状态信息
专利申请权的转移;IPC(主分类):B29C31/04;登记生效日:20200825;变更事项:申请人;变更前:武汉荣霞针织有限公司;变更后:安徽弗仕通实业有限公司;变更事项:地址;变更前:430040 湖北省武汉市东西湖区梨花路399号;变更后:242200 安徽省宣城市广德市经济开发区西区前进路19号
2020-02-18
实质审查的生效
状态信息
实质审查的生效;IPC(主分类):B29C31/04;申请日:20191031
2020-01-14
公布
状态信息
公布
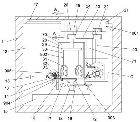
摘要
本发明公开的一种石英石板材的布料装置,包括壳体,所述壳体内设有工作腔,所述工作腔上侧内壁设有T型滑槽,所述T型滑槽上设有横移组件,所述横移组件包括滑动连接于所述T型滑槽上的T型滑块,所述T型滑块下端设有支撑架,本发明采用了单向轴承,保障了装置在恢复初始状态时,部分部件不运动,采用了槽轮,使布料过程分步进行,采用了布料漏斗,使每次放料时物料有储存的空间,保障了布料工作,改善了目前大部分石英石板材布料机布料时,物料直接从容器洒落,没有中间介质,会出现布料不均匀,需要二次处理的情况,这样不仅不能保障产品的质量,而且会浪费大量的人力、物力的现状。


