授权公布号:CN219299586U
一种风机气动性能测量的节流装置
有效
申请
2023-02-13
申请公布
1970-01-01
授权
2023-07-04
预估到期
2033-02-13
| 申请号 | CN202320218359.0 |
| 申请日 | 2023-02-13 |
| 授权公布号 | CN219299586U |
| 授权公告日 | 2023-07-04 |
| 分类号 | F04D27/00 |
| 分类 | 液体变容式机械;液体泵或弹性流体泵; |
| 申请人名称 | 南方风机股份有限公司 |
| 申请人地址 | 广东省佛山市南海区小塘三环西路(狮南段)31号 |
专利法律状态
2023-07-04
授权
状态信息
授权
摘要
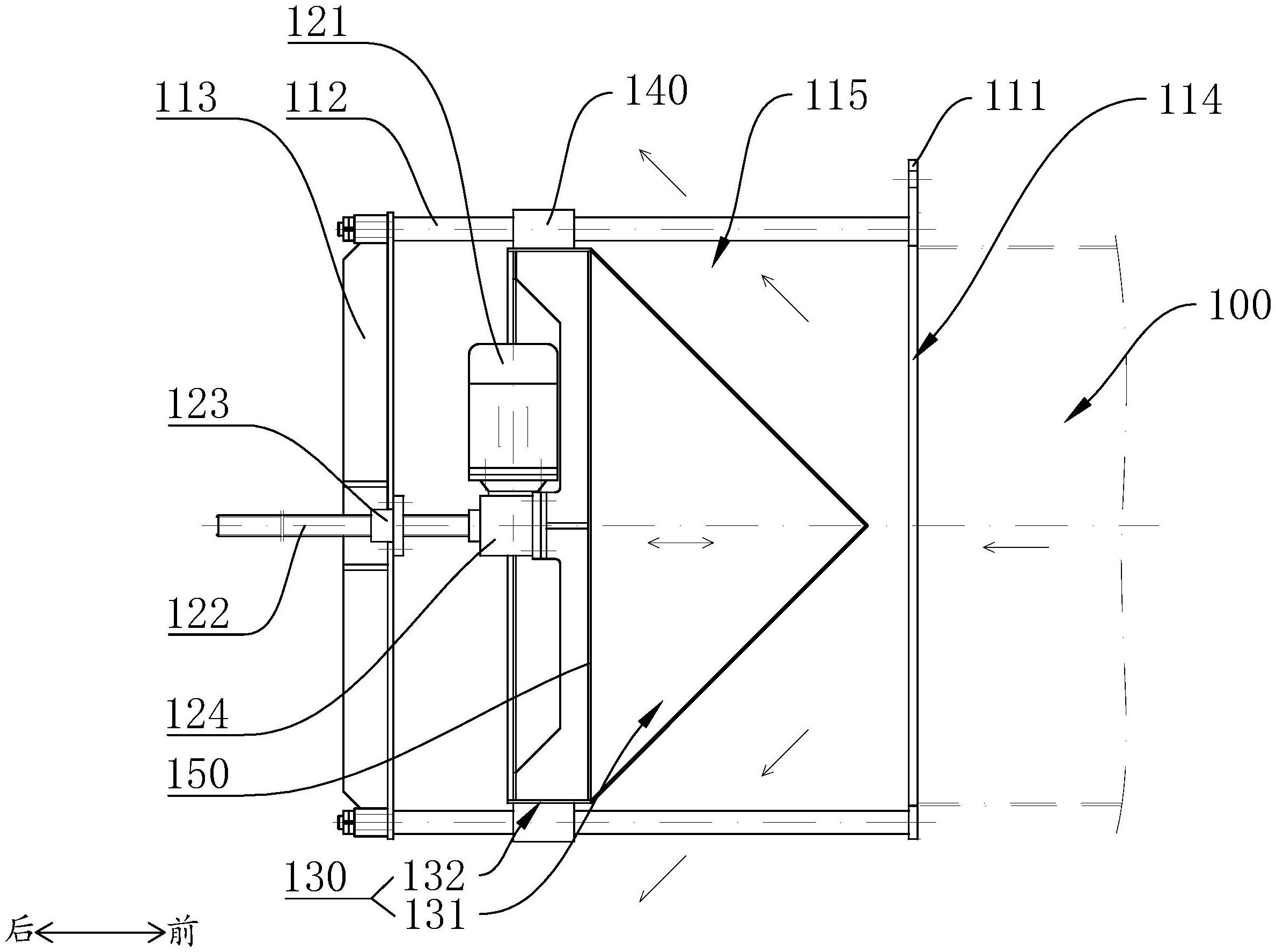
本实用新型公开了一种风机气动性能测量的节流装置,包括安装架,其围成开口朝前的进风口;驱动组件,其连接在安装架上,驱动组件包括电机和直线传动副,电机旋转驱动直线传动副,直线传动副的中心轴与进风口的中心轴相互重合;封头,其中心与直线传动副连接,其沿前后方向滑动连接于安装架,封头的前端可通过直线传动副的传动向前伸入或向后退出进风口,本实用新型可通过电控手段控制封头相对于试验风道出口的位置,精度高,无需爬高并手动调整封头的位置,减少工作人员人工调整的时间和难度,降低安全隐患,提高试验效率,同时,封头滑动连接于安装架上,提高封头移动的稳定性,有效的对抗出口气流的冲击,减少封头的振动和侧偏现象。


