授权公布号:CN214997337U
一种异形电动卷帘
有效
申请
2020-12-11
申请公布
1970-01-01
授权
2021-12-03
预估到期
2030-12-11
| 申请号 | CN202022972979.2 |
| 申请日 | 2020-12-11 |
| 授权公布号 | CN214997337U |
| 授权公告日 | 2021-12-03 |
| 分类号 | E06B9/40;E06B9/72;E06B9/42 |
| 分类 | 一般门、窗、百叶窗或卷辊遮帘;梯子; |
| 申请人名称 | 亨特道格拉斯窗饰产品(中国)有限公司 |
| 申请人地址 | 上海市闵行区中春路2805号8幢 |
专利法律状态
2021-12-03
授权
状态信息
授权
摘要
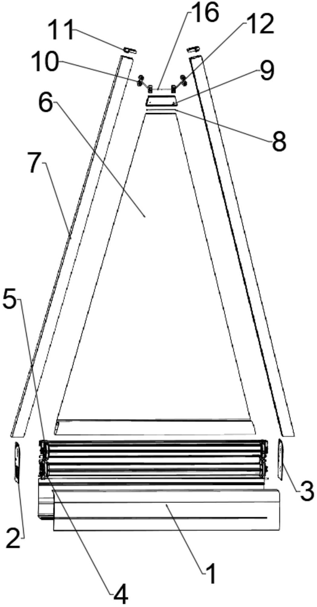
本实用新型涉及一种异形电动卷帘,包括帘布、设于帘布底部的罩壳,设于所述罩壳内用于收卷所述帘布的帘布收卷装置,所述帘布为三角形状,还包括设于帘布两侧且倾斜的滑轨,两根所述滑轨与所述罩壳构成三角型框架,每根所述滑轨内设有与所述帘布顶端连接的滑车,以及驱动所述滑车沿所述滑轨移动的滑车驱动装置。本实用新型的滑移电动卷帘具有运行稳定的优点,并且在帘布完全闭合时,帘布进入滑轨内,边缘无漏光,遮挡效果佳,在帘布完全打开时,卷绳隐藏于罩壳内,视觉通透、外形美观。


