授权公布号:CN213597848U
一种卷帘导向钢丝的固定底座
有效
申请
2020-10-22
申请公布
1970-01-01
授权
2021-07-02
预估到期
2030-10-22
| 申请号 | CN202022366161.6 |
| 申请日 | 2020-10-22 |
| 授权公布号 | CN213597848U |
| 授权公告日 | 2021-07-02 |
| 分类号 | E06B9/58 |
| 分类 | 一般门、窗、百叶窗或卷辊遮帘;梯子; |
| 申请人名称 | 亨特道格拉斯窗饰产品(中国)有限公司 |
| 申请人地址 | 上海市闵行区中春路2805号8幢 |
专利法律状态
2021-07-02
授权
状态信息
授权
摘要
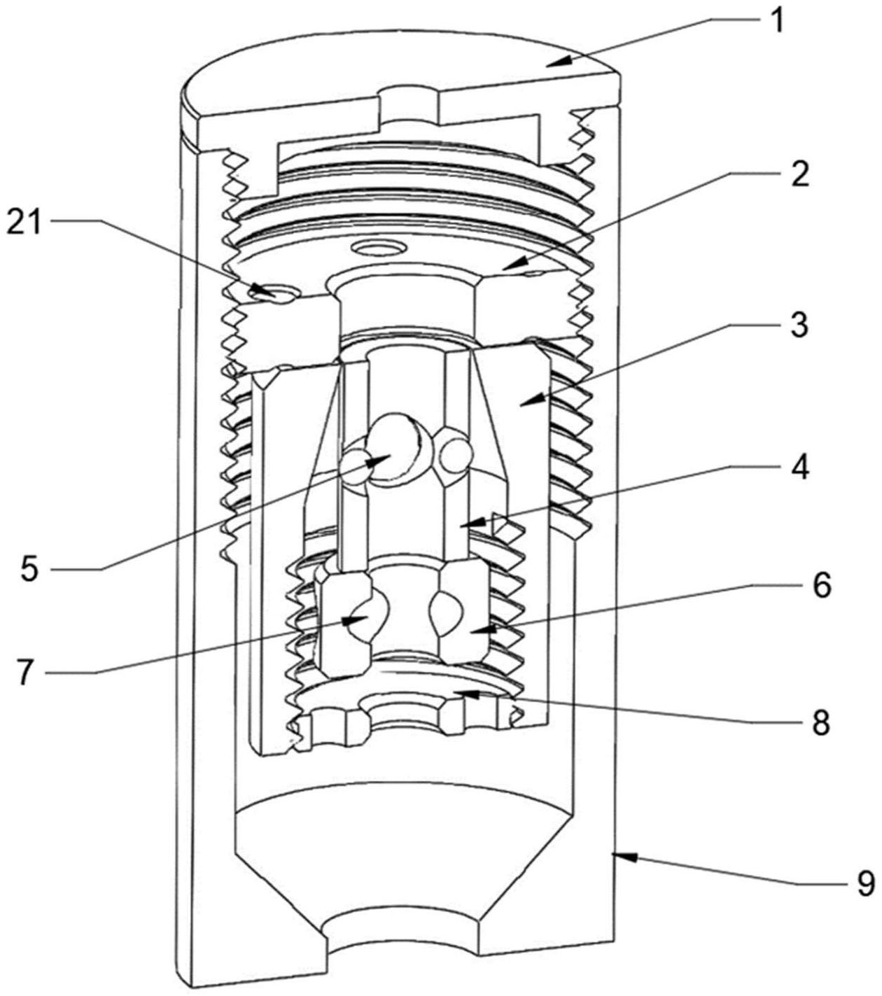
本实用新型涉及一种卷帘导向钢丝的固定底座,包括底座,设于底座内的固定圆环,固定圆环设置有沿周向分布的多个螺钉孔,螺钉孔内安装有紧定螺钉,紧定螺钉将穿过固定圆环的导向钢丝夹紧。底座内还设有锁紧套筒,锁紧套筒内设有钢珠套筒,钢珠套筒设置有沿周向分布的多个钢珠孔,钢珠孔内安装有钢珠。锁紧套筒内壁压迫作用于钢珠表面,从而使得钢珠将穿过钢珠套筒的导向钢丝夹紧。采用上述结构后,在钢珠和紧定螺钉的作用下导向钢丝的防脱能力大大增强,可有效应用于超高卷帘应用场景。


