授权公布号:CN211849124U
一种快速安装防护栏立柱
有效
申请
2019-12-13
申请公布
1970-01-01
授权
2020-11-03
预估到期
2029-12-13
| 申请号 | CN201922243229.9 |
| 申请日 | 2019-12-13 |
| 授权公布号 | CN211849124U |
| 授权公告日 | 2020-11-03 |
| 分类号 | E01F15/02 |
| 分类 | 道路、铁路或桥梁的建筑; |
| 申请人名称 | 江苏国强镀锌实业有限公司 |
| 申请人地址 | 江苏省常州市溧阳市上兴集镇东郊 |
专利法律状态
2020-11-03
授权
状态信息
授权
摘要
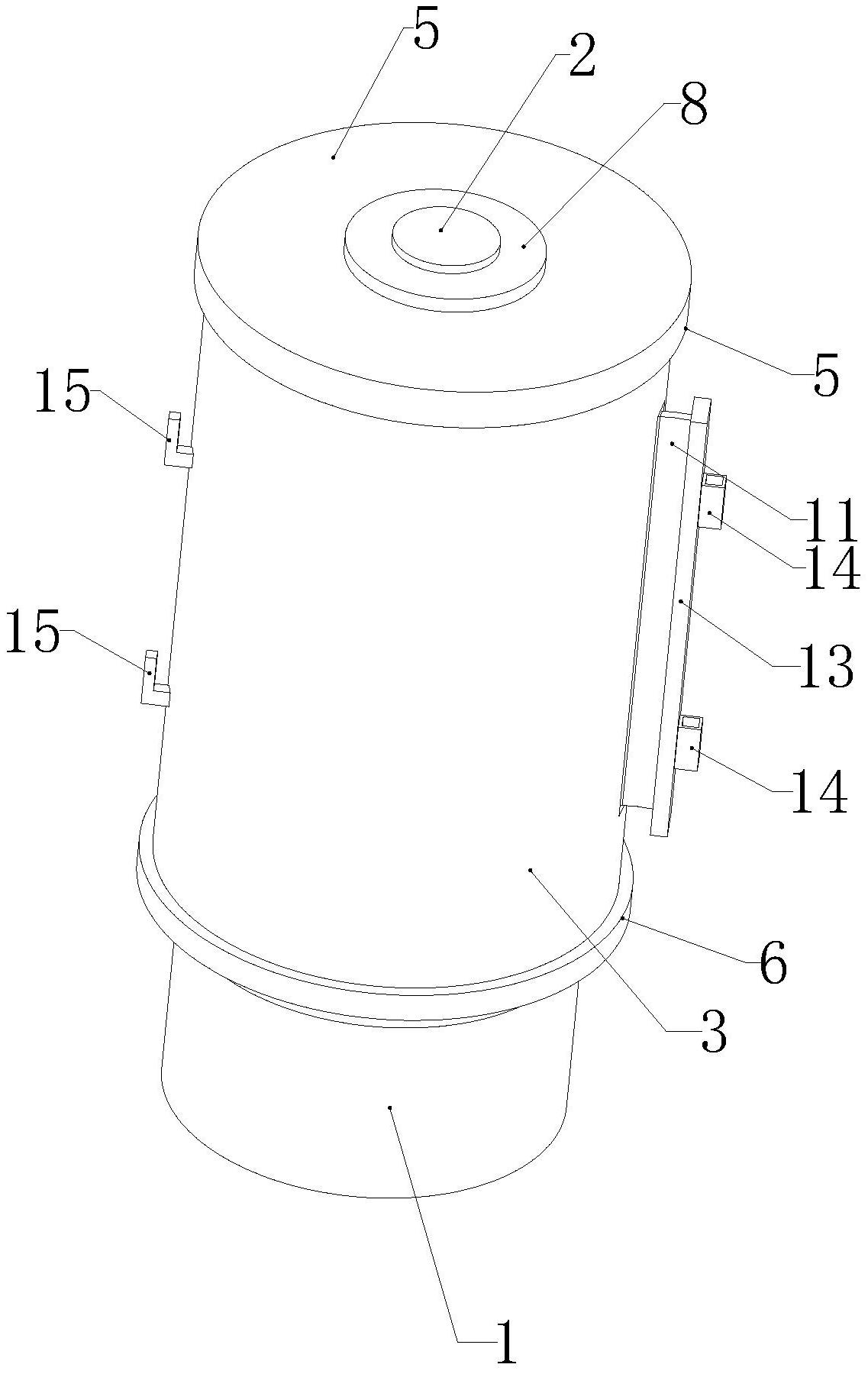
本实用新型涉及一种快速安装防护栏立柱,包括基座,基座的表面设置有安装柱,快速安装防护栏立柱还包括防护筒组件,防护筒组件包括外筒体、设于外筒体内的内管体,外筒体及内管体均为两端开口内部中空的管状结构,外筒体的上下两端分别设置有与外筒体连接的顶盖及底盖,顶盖及底盖的中部均设置有穿孔,内管体的顶端与顶盖连接,内管体的底端与底盖连接,并且内管体的内腔分别于顶盖及底盖上的穿孔连通,快速安装防护栏立柱还包括锁紧环,锁紧环位于顶盖的上方并与安装柱连接,顶盖及底盖的内侧面还设置有定位槽,定位槽绕穿孔设置,内管体的端部插设于定位槽内。本实用新型的快速安装防护栏立柱易于安装携带。


