授权公布号:CN218086463U
一种自动贴标机
有效
申请
2022-08-15
申请公布
1970-01-01
授权
2022-12-20
预估到期
2032-08-15
| 申请号 | CN202222145191.3 |
| 申请日 | 2022-08-15 |
| 授权公布号 | CN218086463U |
| 授权公告日 | 2022-12-20 |
| 分类号 | B65C9/18;B65H19/12;B65H19/18;B65H19/20 |
| 分类 | 输送;包装;贮存;搬运薄的或细丝状材料; |
| 申请人名称 | 北京市老才臣食品有限公司 |
| 申请人地址 | 北京市平谷区兴谷经济开发区5号区 |
专利法律状态
2022-12-20
授权
状态信息
授权
摘要
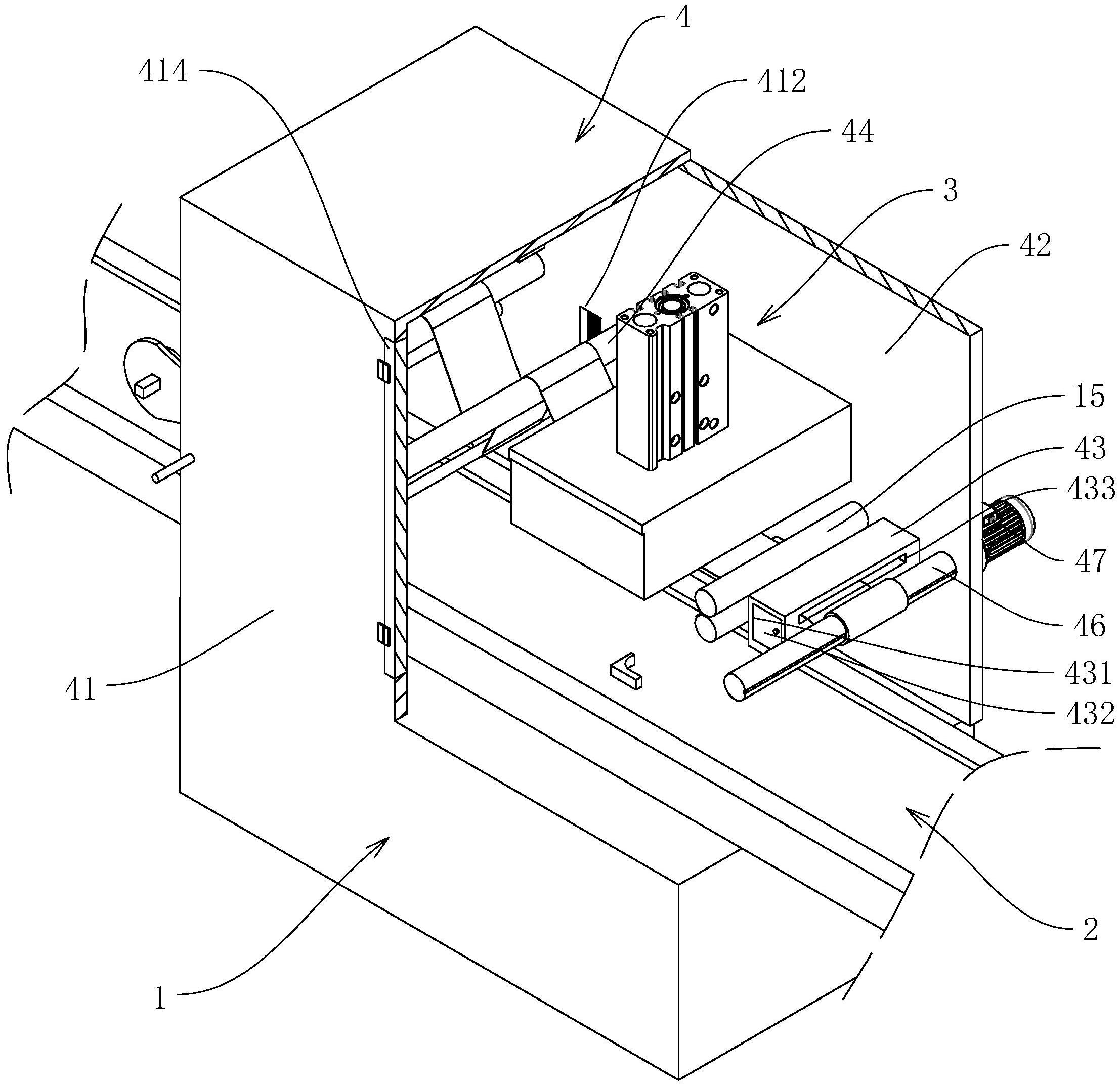
本申请公开了一种自动贴标机,涉及贴标机的技术领域,包括机台,所述机台上设置有收卷机构和送卷机构,所述送卷机构包括转动在机台上供两个垫片纸卷可拆卸套设的安装杆,所述机台设置有预留结构用于预留垫片纸,所述预留结构包括两条转动在机台上的第一绕辊,及滑动在两条所述第一绕辊连线的垂线上的第二绕辊,所述第二绕辊滑动方向沿垂直于两条第一绕辊的连线方向,所述机台上设置有限制靠近垫片纸卷一侧的第一绕辊转动的锁定件,所述机台上设置有在所述第二绕辊朝两条第一绕辊方向移动后驱使第二绕辊复位的复位件。本申请具有使得垫片纸上的标签用完进行更换时,可以不用停止贴标机的工作的效果。


