授权公布号:CN214991462U
一种用于鲜桃醋生产的发酵系统
有效
申请
2021-04-14
申请公布
1970-01-01
授权
2021-12-03
预估到期
2031-04-14
| 申请号 | CN202120763271.8 |
| 申请日 | 2021-04-14 |
| 授权公布号 | CN214991462U |
| 授权公告日 | 2021-12-03 |
| 分类号 | C12J1/10 |
| 分类 | 生物化学;啤酒;烈性酒;果汁酒;醋;微生物学;酶学;突变或遗传工程; |
| 申请人名称 | 北京市老才臣食品有限公司 |
| 申请人地址 | 北京市平谷区兴谷经济开发区5号区 |
专利法律状态
2021-12-03
授权
状态信息
授权
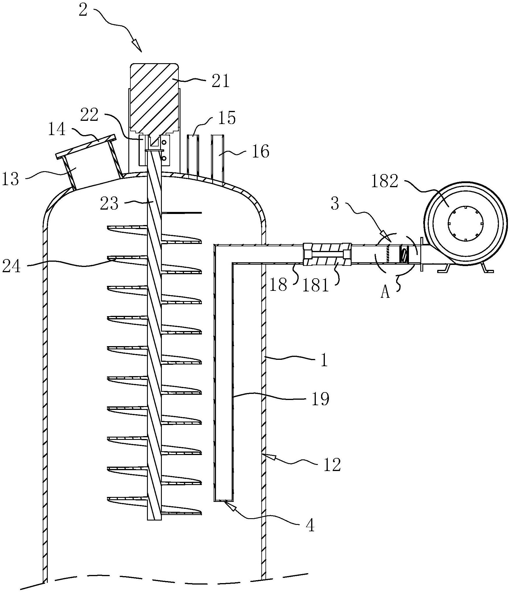
摘要
本申请涉及果醋发酵的技术领域,公开了一种用于鲜桃醋生产的发酵系统,解决相关发酵系统在进行发酵时,向发酵罐内通入的空气与发酵液接触效率低,导致发酵效果不好的问题,其包括发酵罐,所述发酵罐包括填充有发酵液的内腔和固定于发酵罐侧壁上端的空气导管,且空气导管的一端与内腔贯通连接,所述空气导管上连接有向空气导管内泵入空气的充气泵,发酵系统还包括通气管,所述通气管与空气导管贯通连接,所述通气管竖直插入发酵液内,所述通气管的下端固定有气体分布装置,由此空气与发酵液的接触效率高,产品发酵效果好。


