授权公布号:CN218145803U
空瓶推送装置
有效
申请
2022-08-15
申请公布
1970-01-01
授权
2022-12-27
预估到期
2032-08-15
| 申请号 | CN202222145184.3 |
| 申请日 | 2022-08-15 |
| 授权公布号 | CN218145803U |
| 授权公告日 | 2022-12-27 |
| 分类号 | B67C3/24 |
| 分类 | 开启或封闭瓶子、罐或类似的容器;液体的贮运; |
| 申请人名称 | 北京市老才臣食品有限公司 |
| 申请人地址 | 北京市平谷区兴谷经济开发区5号区 |
专利法律状态
2022-12-27
授权
状态信息
授权
摘要
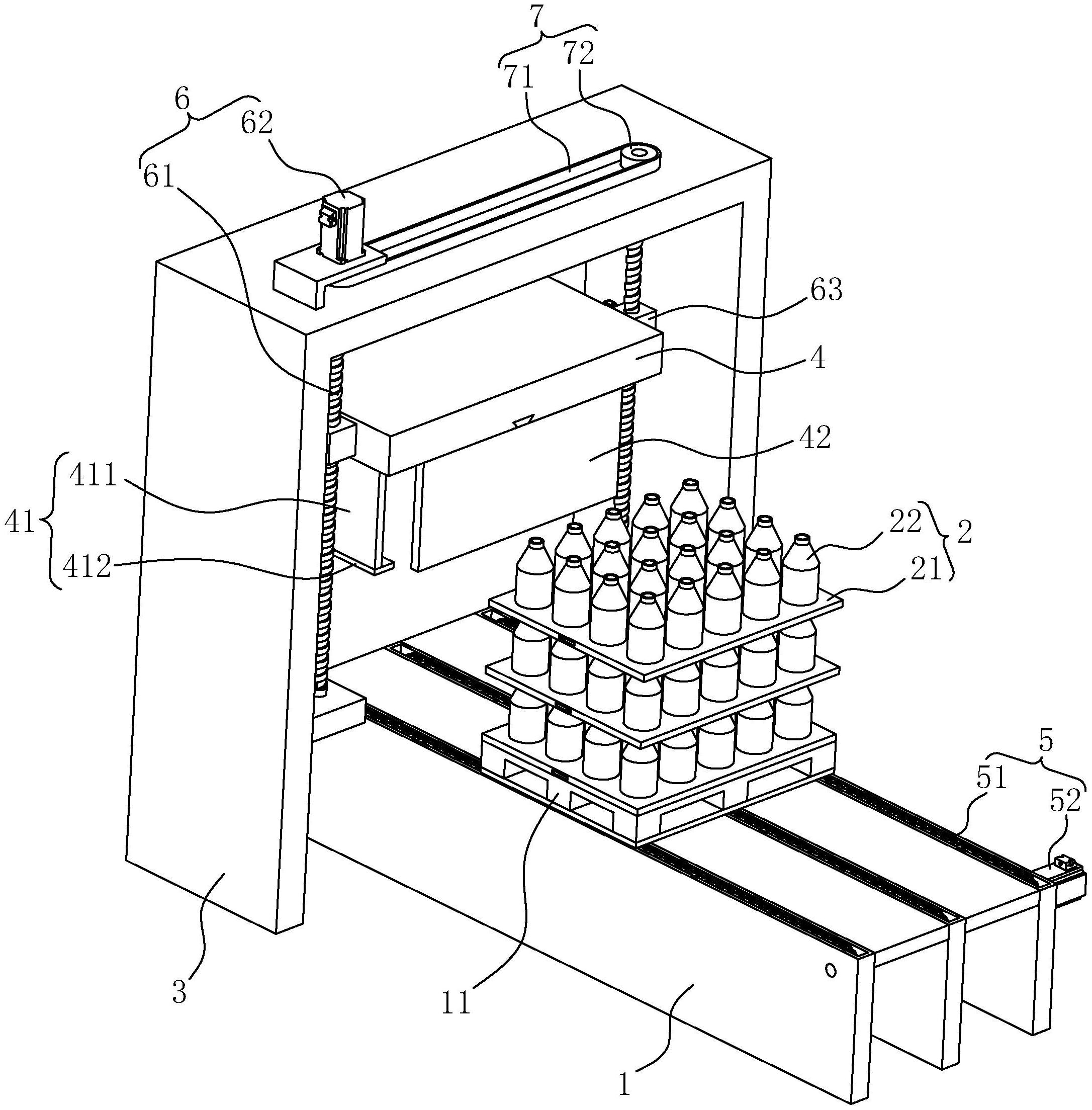
本申请涉及食品加工的领域,尤其是涉及一种空瓶推送装置,包括上料架,所述上料架上沿水平方向滑动设置有承载底座,所述承载底座上堆叠有若干层空瓶组。所述上料架的一端设置有转料架,所述转料架上沿竖向滑动设置有升降座,所述升降座上滑动连接有两个夹板。所述升降座上滑动连接有推板,所述推板位于两个所述夹板之间,所述推板的滑动方向平行于所述承载底座的滑动方向,所述推板用于将两个所述夹板之间的所述空瓶组推向装瓶输送线。本申请具有批量自动输送空瓶的效果,进而提高了料酒的装瓶效率。


