授权公布号:CN210382424U
一种多用型斩拌机
有效
申请
2019-06-06
申请公布
1970-01-01
授权
2020-04-24
预估到期
2029-06-06
| 申请号 | CN201920860525.0 |
| 申请日 | 2019-06-06 |
| 授权公布号 | CN210382424U |
| 授权公告日 | 2020-04-24 |
| 分类号 | A22C17/00;A22C5/00 |
| 分类 | 屠宰;肉品处理;家禽或鱼的加工; |
| 申请人名称 | 北京稻香村食品有限责任公司 |
| 申请人地址 | 北京市东城区东直门内大街19号 |
专利法律状态
2020-04-24
授权
状态信息
授权
摘要
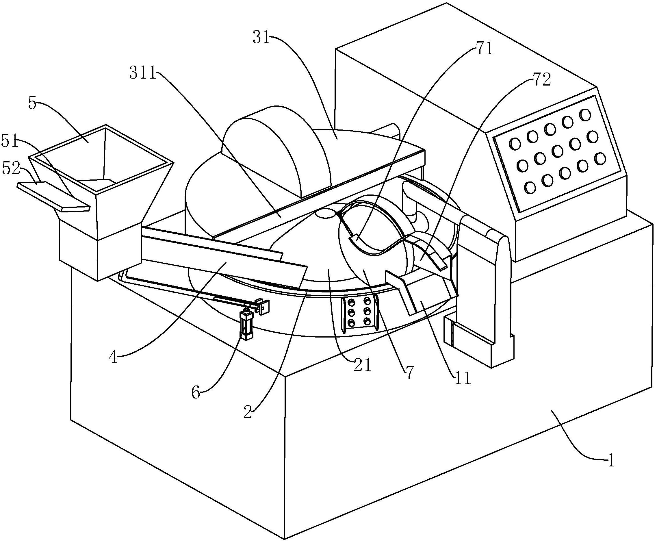
本实用新型涉及一种多用型斩拌机,其包括操作台以及相对操作台转动的转锅,所述操作台的一侧设有向外延伸有倾斜设置的上料槽,所述上料槽位于转锅的上方,且上料槽靠近转锅的一端低于上料槽远离转锅的一端,所述上料槽较低一端伸入转锅内。本实用新型具有方便上料并使辅料均匀落入转锅内的效果。


