授权公布号:CN209919113U
一种竹筷激光雕刻装置
有效
申请
2019-05-10
申请公布
1970-01-01
授权
2020-01-10
预估到期
2029-05-10
| 申请号 | CN201920663577.9 |
| 申请日 | 2019-05-10 |
| 授权公布号 | CN209919113U |
| 授权公告日 | 2020-01-10 |
| 分类号 | B23K26/362;B23K26/70 |
| 分类 | 机床;不包含在其他类目中的金属加工; |
| 申请人名称 | 福建华韵竹木有限公司 |
| 申请人地址 | 福建省南平市松溪县象鼻岭工业区 |
专利法律状态
2020-01-10
授权
状态信息
授权
摘要
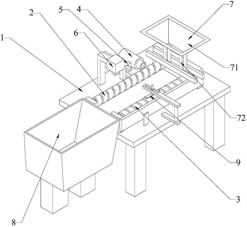
本实用新型涉及竹筷加工设备技术领域,特别涉及一种竹筷激光雕刻装置;包括基座、第一输送螺杆、第二申输送螺杆、摄像头、气动夹爪和激光雕刻机,通过步进电机带动两条输送螺杆同步转动,实现竹筷激光雕刻的自动输送,通过摄像头和启动夹爪的配合,实现了竹筷的位置调节,使竹筷的雕刻面朝上,输送螺杆可以较为密集地排列竹筷,配合竹筷下料机构,可以实现竹筷高效且精准的图案雕刻,不需要人工进行理料,节约了大量工时和人工成本,提高了工作效率,由于工人不需要将手直接放置在激光雕刻机的下方,因此提高了生产的安全性。


